授权专利
【实用新型】一种麻醉科用手部注射托架
公开(公告)号: CN215960933U
摘要附图:

标题: 一种麻醉科用手部注射托架
专利类型: 实用新型
申请日: 2021-10-09
公开(公告)日: 2022-03-08
发明人: 程文娟
当前申请(专利权)人: 首都医科大学附属北京潞河医院
IPC分类号: A61G13/12 | A61F7/00 | F21V33/00
法律状态/事件: 授权
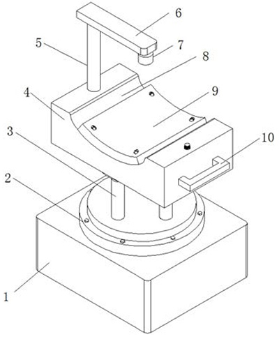
技术功效: [0015]1、通过第一旋转座,可拨动支撑块转动,调整到合适角度后,可将病人的手臂放在弧形托板上,并且可开启照明灯,方便医护人员进行注射。 [0016]2、通过温控开关控制电热丝发热,对弧形托板进行加热,这样会使得患者不会感受到时弧形托板的冰冷,提高舒适感。 [0017]3、通过第一电动伸缩杆的伸缩带动支撑块升降,调整高度,继而方便对患者的手臂进行支撑,进一步提高实用性,通过第二电动伸缩杆伸长推动升降板向下移动,使得行走轮与地面接触,即可实用新型进行移动,较为方便。
摘要: 本实用新型公开了一种麻醉科用手部注射托架,涉及医疗器械技术领域,针对背景技术提出的一种麻醉科医生用多功能托架在使用时对手部进行支撑不方便调整角度的问题,现提出以下方案,包括底座,底座的顶端安装有第一旋转座,第一旋转座的顶端安装有第一电动伸缩杆,第一电动伸缩杆的顶端安装有连接板,连接板的顶端连接有支撑块,支撑块的顶端设置有弧形凹槽。本实用新型中,通过第一旋转座,可拨动支撑块转动,调整到合适角度后,可将病人的手臂放在弧形托板上,并且可开启照明灯,方便医护人员进行注射,通过温控开关控制电热丝发热,对弧形托板进行加热,这样会使得患者不会感受到时弧形托板的冰冷,提高舒适感。

























