授权专利
【实用新型】一种手术室用可调体位架
公开(公告)号: CN215584706U
摘要附图:

标题: 一种手术室用可调体位架
专利类型: 实用新型
申请日: 2021-06-20
公开(公告)日: 2022-01-21
发明人: 杨迪
当前申请(专利权)人: 首都医科大学附属北京潞河医院
IPC分类号: A61G13/02 | A61G13/08 | A61G13/10
法律状态/事件: 授权
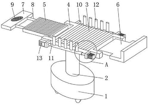
技术功效: [0012]与现有技术相比,本实用新型的有益效果是:本实用新型结构简单、设计新颖,通过电动伸缩杆推动头枕板,实现设备长度的调节,以此使得设备适配不同身材的患者,提高设备的适用范围,通过第一节板与第二节板、第三节板之间的转动连接,有利于调节第二节板、第三节板与第一节板之间的夹角,从而使得本实用新型发生变形,以此来改变患者的体位,有利于患者进行趴、躺、半卧位以及坐立位等姿势,便于调节其手术的位置,并给患者提供舒适的环境,便于进行手术。
摘要: 本实用新型涉及体位架技术领域,具体是一种手术室用可调体位架,所述底座的上端安装有支撑柱,所述支撑柱的上端转动安装有第一节板,所述第一节板的两端对称开设有安装槽,两个所述安装槽的内部转动安装有转动辊。本实用新型结构简单、设计新颖,通过电动伸缩杆推动头枕板,实现设备长度的调节,以此使得设备适配不同身材的患者,提高设备的适用范围,通过第一节板与第二节板、第三节板之间的转动连接,有利于调节第二节板、第三节板与第一节板之间的夹角,从而使得本实用新型发生变形,以此来改变患者的体位,有利于患者进行趴、躺、半卧位以及坐立位等姿势,便于调节其手术的位置,并给患者提供舒适的环境,便于进行手术。

























