授权专利
【实用新型】一种手腕留置针防脱器
公开(公告)号: CN215585058U
摘要附图:

标题: 一种手腕留置针防脱器
专利类型: 实用新型
申请日: 2021-05-14
公开(公告)日: 2022-01-21
发明人: 庞亚茹
当前申请(专利权)人: 首都医科大学附属北京潞河医院
IPC分类号: A61M5/158 | A61L9/12 | A61L101/34
法律状态/事件: 授权
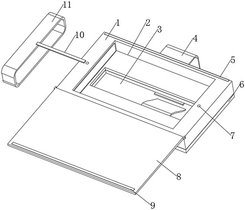
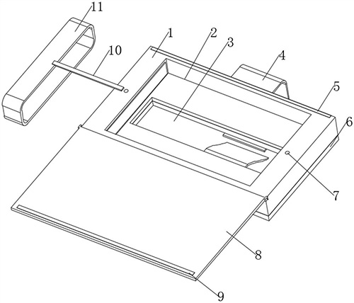
技术功效: [0021]1.该手腕留置针防脱器包括防脱落板,所述防脱落板的表面设置有用于容纳留置针的存储腔,所述存储腔的底部设置有供留置针进入存储腔中的伸入腔,所述防脱落板的底部固定设置有粘附在手背上以将防脱落板固定在手背上的柔性粘附层,防脱落板通过柔性粘附层粘附在手背的表面,手背表面的留置针通过伸入腔被保留在存储腔中存储,防脱落板为硬质保护结构,防脱落板表面的遮板盖上之后避免外部碰触留置针,对留置针的保护性较强。
摘要: 本实用新型公开一种手腕留置针防脱器,包括;防脱落板,所述防脱落板的表面设置有用于容纳留置针的存储腔,所述存储腔的底部设置有供留置针进入存储腔中的伸入腔,所述防脱落板的底部固定设置有粘附在手背上以将防脱落板固定在手背上的柔性粘附层,防脱落板通过柔性粘附层粘附在手背的表面,手背表面的留置针通过伸入腔被保留在存储腔中存储,防脱落板为硬质保护结构,防脱落板表面的遮板盖上之后避免外部碰触留置针,对留置针的保护性较强。

























