授权专利
【实用新型】一种输液接头拧开辅助工具
公开(公告)号: CN216755109U
摘要附图:

标题: 一种输液接头拧开辅助工具
专利类型: 实用新型
申请日: 2021-04-19
公开(公告)日: 2022-06-17
发明人: 李娜
当前申请(专利权)人: 首都医科大学附属北京潞河医院
IPC分类号: A61M5/14 | A61G12/00
法律状态/事件: 授权
技术功效: [0015]1.本实用新型的部分结构为可活动地设置,带来操作性强、使用方便的优点,第一接环和第二接环之间可相互远离和相互靠近,仅需将转盘正向转动,从而施力使得夹持输液接口相互远离,并将输液接口拉动得以分开、使用便捷适应科室使用; [0016]2.第一接环和第二接环的可拆分式设计,在使用时便于将输液接口夹持,同样具备使用方便操作方便的优点。
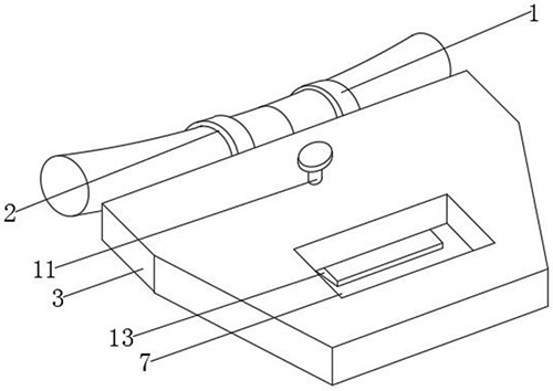
摘要: 本实用新型公开了一种输液接头拧开辅助工具,包括:用于分别夹持输液接口的第一接环和第二接环,且第一接环和第二接环之间通过横向间距隔开;活动连接第一接环和第二接环的主体块,所述主体块的中部自上而下贯穿设有握口;所述第一接环和第二接环均呈可拆分状,且第一接环和第二接环均具有第一半环和第二半环,第一半环和第二半环之间贴合连接;所述第一半环的环面对应条形齿牙设有与其匹配的条形卡口;本实用新型具有操作性强、使用方便的优点,第一接环和第二接环之间可相互远离和相互靠近,仅需将转盘正向转动,从而施力使得夹持输液接口相互远离,并将输液接口拉动得以分开、使用便捷适应科室使用。

























