授权专利
【实用新型】一种新型采血管
公开(公告)号: CN215384088U
摘要附图:

标题: 一种新型采血管
专利类型: 实用新型
申请日: 2021-06-20
公开(公告)日: 2022-01-04
发明人: 杨丹
当前申请(专利权)人: 首都医科大学附属北京潞河医院
IPC分类号: A61B5/154
法律状态/事件: 授权
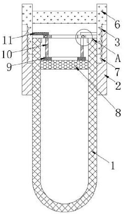
技术功效: [0014]1、通过活动套、固定套和第二胶塞,旋转活动套,在第二外螺纹和第一外螺纹的连接作用下,带动活动套及其内侧的连接板进行旋转,在滑块和滑槽的连接作用下,使连接板下方的滑块沿第二环形板内部的滑槽进行滑动,同时带动第二环形板进行抬升,进而带动支撑架及其下方的第一环形板进行抬升,实现了第二胶塞沿管体内壁抬升,使管体内部的负压增大,提高管内的真空度,解决了采血管处于静置未使用过程中,管内真空度会逐渐降低,进而影响到血液采血量的问题。 [0015]2、通过限位块,第二胶塞沿管体内壁抬升过程中与限位块接触,起到了限位的作用,防止第二胶塞从管体内部脱落后,造成管体内部失压的情况发生,提高了实用性。
摘要: 本实用新型涉及医疗器械技术领域,公开了一种新型采血管,包括管体,所述管体的外侧连接有固定套,所述固定套的外侧连接有活动套,所述活动套的内部连接有连接板,所述连接板的下方连接有滑块,所述滑块的外侧连接有第二环形板,所述第二环形板的下方连接有支撑架,所述支撑架的下方连接有第一环形板,所述第一环形板的下方连接有第二胶塞,本实用新型通过活动套、固定套和第二胶塞,旋转活动套,带动连接板旋转,同时使滑块沿滑槽滑动,带动第二环形板进行抬升,实现了第二胶塞沿管体内壁抬升,使管体内部的负压增大,提高管内的真空度,解决了采血管处于静置未使用过程中,管内真空度会逐渐降低,进而影响到血液采血量的问题。

























