授权专利
【实用新型】用于放置吸痰管的收纳装置
公开(公告)号: CN214969735U
摘要附图:

标题: 用于放置吸痰管的收纳装置
专利类型: 实用新型
申请日: 2021-02-07
公开(公告)日: 2021-12-03
发明人: 许宁
当前申请(专利权)人: 首都医科大学附属北京潞河医院
IPC分类号: A61M1/00 | A61G12/00 | A61L2/10 | A61B50/31
法律状态/事件: 授权
技术功效: [0022]1、本实用新型提供的用于放置吸痰管的收纳装置的挡板将盒体内部空间划分为多个区域,可将不同型号的一次性吸痰管在盒体内分类放置,收纳方式更加合理。 [0023]2、本实用新型提供的用于放置吸痰管的收纳装置的收纳单元可将长度较长的一次性吸痰管环绕固定在环形凹槽内,避免一次性吸痰管互相缠绕,拿取方便。 [0024]3、本实用新型提供的用于放置吸痰管的收纳装置的紫外灯可对盒体内部进行杀菌消毒,保证存放环境无菌,提供安全保障。 [0025]当然,实施本实用新型的任一产品必不特定需要同时达到以上所述的所有技术效果。 [0026]通过以下参照附图对本实用新型的示例性实施例的详细描述,本实用新型的其它特征及其优点将会变得清楚。
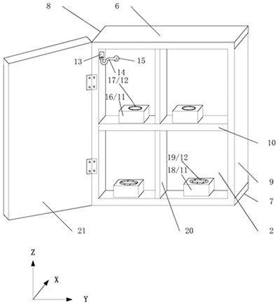
摘要: 本实用新型公开了一种用于放置吸痰管的收纳装置,包括:盒体,盒体为立方体,第一表面为开口区,第二表面远离第一表面一侧设有连接部,盒体通过连接部固定于墙体上;盒体还包括平行于第三表面所在平面的挡板;多个收纳单元,收纳单元放置于盒体内,收纳单元设有凹槽,凹槽的截面为环形;紫外灯和导线,紫外灯设置于盒体内,第二表面设有镂空区,导线贯穿镂空区,导线一端连接紫外灯,另一端连通电源。通过挡板将盒体内部空间划分为多个区域,可分区放置不同型号的一次性吸痰管,长度较长的一次性吸痰管环绕固定在收纳单元的环形凹槽内,避免一次性吸痰管互相缠绕,拿取方便。

























