授权专利
【实用新型】用于患者肢体固定装置
公开(公告)号: CN215994434U
摘要附图:

标题: 用于患者肢体固定装置
专利类型: 实用新型
申请日: 2021-08-25
公开(公告)日: 2022-03-11
发明人: 高祎
当前申请(专利权)人: 首都医科大学附属北京潞河医院
IPC分类号: A61F5/058
法律状态/事件: 授权
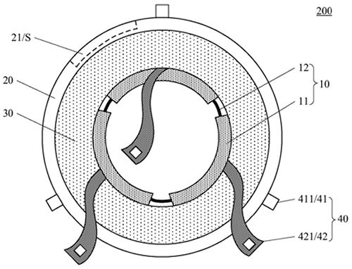
技术功效: [0026]第一、本实用新型提供的用于患者肢体固定装置包括固定层,固定层的截面为环形,固定层包括多个固定板和弹性带,相邻的固定板通过弹性带连接,固定板沿第一方向延伸。固定板可以有效的起到固定患者肢体的作用,同时固定板之间通过弹性带连接,一方面,弹性带对应的固定层的位置处可以用于散热,另一方面,弹性带可以使得固定层更加贴合患者的肢体,提高患者的舒适度。 [0027]第二、本实用新型提供的用于患者肢体固定装置包括保护层,保护层为筒体,且保护层包围固定层,保护层包括收纳部,收纳部包括收纳空间,该收纳空间可以用于放置冰袋或者药袋之类的物品,有利于提高患者肢体固定装置的实用性。 [0028]第三、本实用新型提供的用于患者肢体固定装置包括形变层,形变层具有弹性模量,形变层位于固定层和保护层之间,通过形变层分别连接固定层和保护层,可以调节患者肢体固定装置的形状,在患者的穿戴患者肢体固定装置过程中形变层可以通过调节限位部件收缩至最小厚度,进而拉动固定板之间的弹性带边长,增大固定层截面环形的面积,便于患者穿戴,当患者肢体已经贯穿患者肢体固定装置后,可以通过调节限位部件,即固定部和绑定部分离,此时形变层和弹性带均在回复力的作用下回收,由此将患者肢体固定装置固定在患者的肢体上。
摘要: 本申请公开了一种用于患者肢体固定装置,包括固定层,固定层的截面为环形,固定层包括多个固定板和弹性带,相邻的固定板通过弹性带连接,保护层为筒体,保护层包括收纳部,形变层具有弹性模量,形变层分别连接固定层和保护层;还包括限位部件,固定部位于保护层远离形变层的一侧,且与保护层固定连接,绑定部具有弹性模量,第一子绑定部和第二子绑定部的一端与固定层固定连接,第一子绑定部的另一端与第一子固定部可拆卸连接,第二子绑定部的另一端与第二子固定部可拆卸连接。本申请公开的用于患者肢体固定装置实现散热的同时保证固定装置的固定作用,并还可以实现固定装置冷敷或者熏药等效果。

























