授权专利
【实用新型】用于急诊使用的降温装置
公开(公告)号: CN215192870U
摘要附图:

标题: 用于急诊使用的降温装置
专利类型: 实用新型
申请日: 2021-06-23
公开(公告)日: 2021-12-17
发明人: 颜静
当前申请(专利权)人: 首都医科大学附属北京潞河医院
IPC分类号: A61F7/10
法律状态/事件: 授权
技术功效: [0019]本申请通过在移动支撑座内设置升降板,升降板的斜齿与转轴上的齿轮啮合,当齿轮逆时针旋转时带动升降板向上运动,升降板升高,当齿轮顺时针旋转时带动升降板向下运动,升降板下降,由此不需要连接电源就能够实现升降板的升降,继而实现防止冰袋的降温箱高度的调节,将降温箱置于额头或受伤处,结构简单;通过升降板上设置固定块,固定块在固定板的滑槽内滑动,这样是升降板在升降过程中更稳定;通过在移动支撑座外侧底部设置滚轮,可以任意移动该降温装置,使用方便;降温箱设有门板,取放冰袋都很方便。 [0020]当然,实施本实用新型的任一产品必不特定需要同时达到以上所述的所有技术效果。 [0021]通过以下参照附图对本实用新型的示例性实施例的详细描述,本实用新型的其它特征及其优点将会变得清楚。
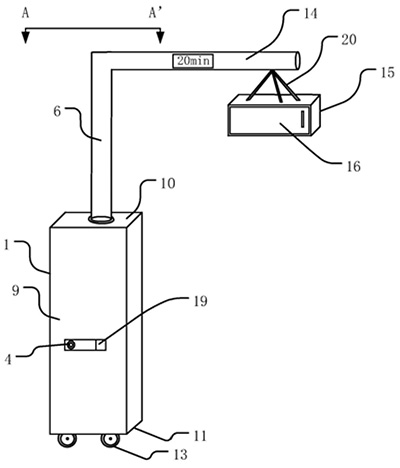
摘要: 本实用新型公开了一种用于急诊使用的降温装置,包括:移动支撑座,至少部分位于移动支撑座内的升降板,升降板包括斜齿;移动支撑座内的侧壁上设有转轴,且转轴贯穿侧壁,转轴上套接有齿轮,齿轮与斜齿相啮合;升降板远离底面的一侧设有裸露在移动支撑座外部的支撑柱;位于移动支撑座内的固定板,且固定板设有沿垂直于地面方向延伸的滑槽;升降板设有固定块,固定块在滑槽内滑动;移动支撑座外侧靠近底面的一侧设有滚轮;支撑柱远离地面的一端固定有横向支撑柱,横向支撑柱沿第一方向延伸;横向支撑柱远离支撑柱的一端固定有降温箱,降温箱包括门板,降温箱内设有冰袋。本申请不需要连接电源就能够实现升降板的升降,结构简单。

























