授权专利
【发明专利】一种手康复训练设备
公开(公告)号: CN111249109B
摘要附图:

标题: 一种手康复训练设备
专利类型: 授权发明
申请日: 2020-02-13
公开(公告)日: 2022-04-12
当前申请(专利权)人: 首都医科大学附属北京潞河医院
IPC分类号: A61H1/02
法律状态/事件: 授权
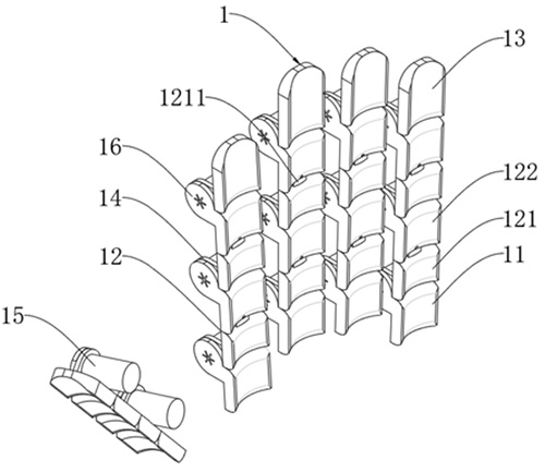
技术功效: [0012]该手康复训练设备,通过分别设置在手套内的指部训练器,使得患者在穿戴手套并使手指分别贴合在各个指部训练器的表面上后对微型马达进行通电,使微型马达依次带动指部训练器的关节处进行活动,从而带动手部屈曲和伸直,达到训练手部肌肉的目的,且手套形式的康复训练设备穿戴方便。
摘要: 本发明涉及康复器械技术领域,具体地说,涉及一种手康复训练设备,包括分别与手指对应的若干指部训练器,指部训练器分别套设在手套的指套内,指部训练器包括指跟搭板、指肚搭板以及指尖搭板,指肚搭板包括基板和伸缩板,指跟搭板和基板上方设有座板,座板上安装有微型马达,指尖搭板和伸缩板上设有转板,微型马达的输出轴与转板同轴连接。该手康复训练设备,通过使患者对手套进行穿戴并使手指分别贴合在各个指部训练器的表面后对微型马达进行通电,使微型马达依次带动指部训练器的关节处进行活动,从而带动手部屈曲和伸直,达到训练手部肌肉的目的,且手套形式的康复训练设备穿戴方便。

























