授权专利
【实用新型】一种便于清理的儿科护理清洗装置
公开(公告)号: CN217285578U
摘要附图:

标题: 一种便于清理的儿科护理清洗装置
专利类型: 实用新型
申请日: 2022-03-03
公开(公告)日: 2022-08-26
发明人: 吴瑕
当前申请(专利权)人: 首都医科大学附属北京潞河医院
IPC分类号: A47K7/04 | A47K3/024
法律状态/事件: 授权
技术功效: [0013]本实用新型通过清理带动外框结构、清洗箱和辅助清理结构的配合设计,使得装置便于对儿科护理清洗装置进行自动化的往复推导,进而便于清洗液在清洗箱内进行便捷的晃动接触清洗,以及辅助擦拭,大大提高了便捷清理的效果。
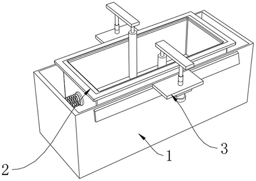
摘要: 本实用新型公开了一种便于清理的儿科护理清洗装置,涉及儿科护理清洗装置技术领域。本实用新型包括清理带动外框结构、清洗箱和辅助清理结构,清理带动外框结构的内侧设置有清洗箱,清理带动外框结构的两侧通过无轨气缸连接有辅助清理结构,清理带动外框结构用于带动清洗箱进行晃动,辅助清理结构用于对清洗箱的配合擦拭清理,清理带动外框结构包括清理限位模块和清理带动模块,清理限位模块的内侧设置有清理带动模块。本实用新型通过清理带动外框结构、清洗箱和辅助清理结构的配合设计,使得装置便于对儿科护理清洗装置进行自动化的往复推导,进而便于清洗液在清洗箱内进行便捷的晃动接触清洗,以及辅助擦拭,大大提高了便捷清理的效果。

























