授权专利
【实用新型】一种输液港针固定结构
公开(公告)号: CN217366762U
摘要附图:

标题: 一种输液港针固定结构
专利类型: 实用新型
申请日: 2022-04-01
公开(公告)日: 2022-09-06
发明人: 徐娜
当前申请(专利权)人: 首都医科大学附属北京潞河医院
IPC分类号: A61M5/158 | A61M5/14
法律状态/事件: 授权
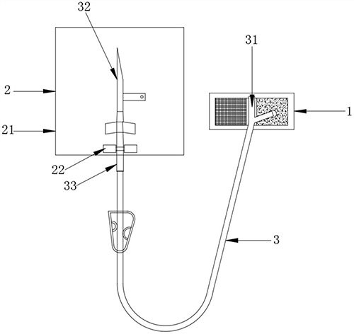
技术功效: [0016]本实用新型的有益效果为:输液港针固定结构包括第一固定贴和第二固定贴,第一固定贴包括下层固定贴和上层固定件,下层固定贴能够粘结在人体皮肤上,上层固定件连接在下层固定贴的顶部,上层固定件能够将输液港针的接头进行固定,第二固定贴能够粘接在人体皮肤上并且能够将输液港针的针头进行固定,通过第一固定贴和第二固定贴的设置,使输液港针上的接头和针头分别进行了有针对性的固定,使固定牢固,固定效果更优,避免了接头和针头晃动或偏移,提升了患者的舒适度。
摘要: 本实用新型提供了一种输液港针固定结构,涉及医疗器械技术领域。它包括第一固定贴和第二固定贴,第一固定贴包括下层固定贴和上层固定件,下层固定贴能够粘结在人体皮肤上,上层固定件连接在下层固定贴的顶部,上层固定件能够将输液港针的接头进行固定,第二固定贴能够粘接在人体皮肤上并且能够将输液港针的针头进行固定,通过第一固定贴和第二固定贴的设置,使输液港针上的接头和针头分别进行了有针对性的固定,使固定牢固,固定效果更优,避免了接头和针头晃动或偏移,提升了患者的舒适度。

























