授权专利
【实用新型】一种血透机用防脱落的血透置管固定装置
公开(公告)号: CN217245804U
摘要附图:

标题: 一种血透机用防脱落的血透置管固定装置
专利类型: 实用新型
申请日: 2022-03-18
公开(公告)日: 2022-08-23
发明人: 宋娜
当前申请(专利权)人: 首都医科大学附属北京潞河医院
IPC分类号: A61M1/14 | A61M25/02
法律状态/事件: 授权
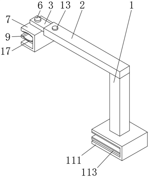
技术功效: [0012]本实用新型使用时,通过设置第二凹型框、螺管和夹板,能够对该装置与床板或者桌板等物品进行夹持安装,通过设置横板、加长板、销槽和限位螺栓,能够对第一凹型框的夹持位置进行调整,通过设置螺杆、螺母和限位板,能够对第一凹型框的夹持角度进行调整,通过设置滑杆、压板、和压簧,能够对血透置管进行压持限位,通过设置以上结构,具备血透置管在使用时,具有防脱落固定辅助装置的优点,解决了原有血透置管在使用时,不具有防脱落固定辅助装置的问题,从而避免影响血液透析的正常进行。
摘要: 本实用新型公开了一种血透机用防脱落的血透置管固定装置,属于血透机辅助装置技术领域,包括竖板,所述竖板的顶部固定连接有横板,所述横板的内腔滑动连接有加长板,所述加长板的左端延伸至横板的外侧,所述加长板底部的左侧设置有螺杆,所述螺杆的外表面螺纹连接有螺母,本实用新型使用时,通过设置第二凹型框、螺管和夹板,能够对该装置与床板或者桌板等物品进行夹持安装,通过设置横板、加长板、销槽和限位螺栓,通过设置以上结构,具备血透置管在使用时,具有防脱落固定辅助装置的优点,解决了原有血透置管在使用时,不具有防脱落固定辅助装置的问题,从而避免影响血液透析的正常进行。

























