授权专利
便携式流动核酸采样双肩背包
公开(公告)号: CN217696847U
摘要附图:

标题: 便携式流动核酸采样双肩背包
专利类型: 实用新型
申请日: 2022-04-15
公开(公告)日: 2022-11-01
发明人: 王丽丽 | 王晓静 | 董欢 | 李爱华
当前申请(专利权)人: 首都医科大学附属北京潞河医院
IPC分类号: A61B50/31
法律状态/事件: 授权
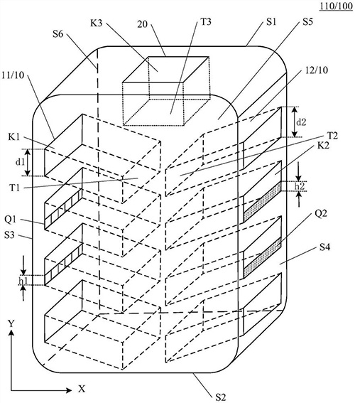
技术功效语段: [0030]第一、本实用新型提供的便携式流动核酸采样双肩背包,包体包括多个第一类存储盒体第一类存储盒体和第二类存储盒体,可以便于放置在核酸采样中利用到的多种物品,可以将其分别放置在不同的盒体内,使得医护人员可以在一个包体内存放核酸采集所需的全部物品,并且有序排布放置,拿取方便,便于降低核酸采集工作的难度,提高核酸采集的效率。 [0031]第二、本实用新型提供的便携式流动核酸采样双肩背包,包体包括多个第一类存储盒体,第一类存储盒体包括第一存储盒体和第二存储盒体,第一存储盒体和第二存储盒体分别位于包体的两侧;沿第一方向上,第一存储盒体包括相对设置的第一底板和第一开口,第一开口位于左表面上,第一底板位于包体内,第一底板远离下表面的一端与下表面之间的间距小于第一开口远离下表面的一端与下表面之间的间距;沿第一方向上,第二存储盒体包括相对设置的第二底板和第二开口,第二开口位于右表面上,第二底板位于包体内,第二底板远离下表面的一端与下表面之间的间距小于第二开口远离下表面的一端与下表面之间的间距。也即第一存储盒体和第二存储盒体中的底板位于开口的斜下方的位置处,使得第一存储盒体和第二存储盒体分别倾斜放置在包体的两侧,可以使得存放在第一存储盒体和第二存储盒体内的物品不会外漏,存放稳定。同时设置第一类存储盒体还包括第一挡板和第二挡板,第一挡板位于部分第一开口,第二挡板位于部分第二开口,沿第二方向上,第一挡板的高度为h1、第一开口的高度为d1,第二挡板的高度为h2以及第二开口的高度为d2,其中,利用挡板进一步防止放置在第一存储盒体和第二存储盒体中物品掉落,避免增加核酸采样工作的难度。 [0032]第三、本实用新型提供的便携式流动核酸采样双肩背包,包体还包括第二类存储盒体,第二类存储盒体位于第一类存储盒体靠近上表面的一侧;第二类存储盒体包括沿第二方向上相对设置的第三底板和第三开口,第三开口位于上表面上,第三底板位于包体内,充分利用包体内的空间设置多个存储盒体,便于收纳在核酸采集时需要用到的物品。
摘要: 本申请公开了一种便携式流动核酸采样双肩背包,包括包体,包体包括多个第一类存储盒体和第二类存储盒体,第一类存储盒体包括第一存储盒体和第二存储盒体,沿第一方向上,第一存储盒体包括位于包体内的第一底板和位于左表面上的第一开口,第二存储盒体包括位于包体内的第二底板和位于右表面上的第二开口,第一类存储盒体还包括第一挡板和第二挡板,第一挡板位于部分第一开口,第二挡板位于部分第二开口,第二类存储盒体包括沿第二方向上相对设置的第三底板和第三开口,第三开口位于上表面上,第三底板位于包体内。通过将多个核酸采样检测所需物品分别放置在包体的不同位置处,有效提高医护人员核酸检测的检测效率,便于操作,省时省力。

























