授权专利
带持续性负吸引排烟装置的开腹切口保护器
公开(公告)号: CN217660173U
摘要附图:

标题: 带持续性负吸引排烟装置的开腹切口保护器
专利类型: 实用新型
申请日: 2022-03-31
公开(公告)日: 2022-10-28
发明人: 徐婷婷
当前申请(专利权)人: 首都医科大学附属北京潞河医院
IPC分类号: A61B90/00 | A61M1/00
法律状态/事件: 授权
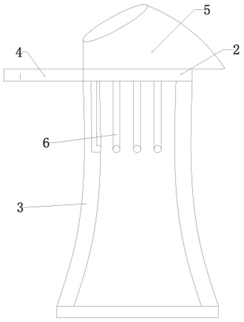
技术功效语段: [0011]本实用新型的有益效果是:当手术开始的时候,切口保护器铺开后多个排液小管恰好围绕切口环形放射状排列,开启负压吸引装置,气体经过切口时经多个排液小管吸入外卡环内环形空腔,进一步经负压抽吸管和吸引装置排出,腹腔冲洗或羊水等大量液体可积聚在帽样集液袋中,可经排液小管和吸引装置排出,持续性负压吸引可大大提升了排出效果,同时避免了液体和气体污染手术视野和手术台,尽可能减少医院人员吸入有害气体后会对身体造成损害的问题。
摘要: 本实用新型公开了带持续性负压吸引排烟装置的开腹切口保护器,包括内卡环,内卡环的顶部设置有外卡环,内卡环和外卡环之间通过保护膜连接,外卡环上设置排出组件;排出组件包括负压抽吸管、帽样集液袋和多个排液小管,外卡环内部空心形成环形空腔,负压抽吸管设置在外卡环一侧,且负压抽吸管与环形空腔连通,且负压抽吸管的另一端与负压吸引装置连通,帽样集液袋环绕安装在外卡环的顶部,保护膜分为内膜和外膜,多个排液小管均设置在保护膜的内膜与外膜之间。这样大大提升了排出效果,同时避免了液体和气体污染手术视野和手术台,尽可能减少医院人员吸入有害气体后会对身体造成损害的问题。

























