授权专利
内窥式阴道镜
公开(公告)号: CN218338428U
摘要附图:

标题: 内窥式阴道镜
专利类型: 实用新型
申请日: 2022-03-01
公开(公告)日: 2023-01-20
发明人: 杨婧暄 | 杨晓奕
当前申请(专利权)人: 首都医科大学附属北京潞河医院
IPC分类号: A61B1/303 | A61B1/04 | A61B1/06 | A61B1/12
法律状态/事件: 授权
技术功效语段: [0014]利用活塞的来回运动,实现对清洗液的挤压,使清洗液能够通过挤压的方式从清洗孔喷出,从而能够及时的对镜头表面进行清洗,不需要像传统的方式,将镜体取出清洗后再次使用,十分的方便,快捷。 [0015]参照后文的说明和附图,详细公开了本实用新型的特定实施方式,指明了本实用新型的原理可以被采用的方式。应该理解,本实用新型的实施方式在范围上并不因而受到限制。
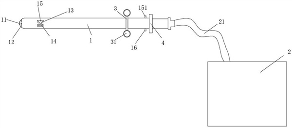
摘要: 本实用新型公开了一种内窥式阴道镜,包括镜体和接收器,所述镜体内设有第一摄像头和第二摄像头和第一光源和第二光源,所述镜体上分别设有用于第一摄像头和第二摄像头安装的第一安装槽和第二安装槽,所述第一安装槽和第二安装槽的侧壁上均设有多个用于第一摄像头和第二摄像头表面清洗的清洗孔,所述镜体内设有储液槽,所述储液槽内储存有用于第一摄像头和第二摄像头清洗的清洗液,所述储存槽内设有可来回运动且用于清洗液挤压输送至清洗孔的活塞,利用活塞的来回运动,实现对清洗液的挤压,使清洗液能够通过挤压的方式从清洗孔喷出,从而能够及时的对镜头表面进行清洗,十分的方便快捷。

























