授权专利
一种分隔式医用垃圾桶
公开(公告)号: CN218087121U
摘要附图:

标题: 一种分隔式医用垃圾桶
专利类型: 实用新型
申请日: 2022-05-20
公开(公告)日: 2022-12-20
发明人: 尚海娟
当前申请(专利权)人: 首都医科大学附属北京潞河医院
IPC分类号: B65F1/00 | B65F1/16 | B65F1/14
法律状态/事件: 授权
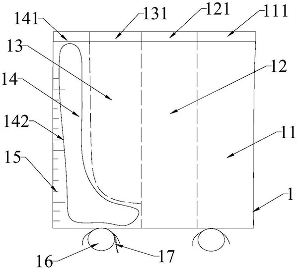
技术功效语段: [0016]该种分隔式医用垃圾桶,与传统的垃圾桶相比,相同的是,均包括桶本体,与传统的垃圾桶相比,不同的是,本实用新型的桶本体被分隔为生活垃圾空间、厨余垃圾空间、痰液空间和痰纸空间,生活垃圾空间用于存放生活垃圾,厨余垃圾空间用于存放厨余垃圾,痰液空间用于存放痰液,痰纸空间则用于存放痰纸,实现了垃圾的分类存放,同时生活垃圾空间、厨余垃圾空间、痰液空间和痰纸空间均设有独立的盖体,通过盖体实现各个空间的密封,尤其是痰液空间和痰纸空间的盖体,避免了痰液暴露于空气中,降低了通过痰液传播疾病的风险。 [0017]另外,本实用新型的痰液空间和痰纸空间相邻,并且痰液空间上设有刻度线,刻度线的设置便于观察患者痰液颜色、性质和量,对于临床诊断有一定意义。
摘要: 本实用新型提供了一种分隔式医用垃圾桶,涉及医疗辅助用品技术领域,该垃圾桶包括桶本体,桶本体被分隔为生活垃圾空间、厨余垃圾空间、痰液空间和痰纸空间,生活垃圾空间、厨余垃圾空间、痰液空间和痰纸空间均设有独立的盖体,痰液空间和痰纸空间相邻,且痰液空间上设有刻度线。本实用新型实现了垃圾的分类存放,同时通过盖体实现各个空间的密封,尤其是痰液空间和痰纸空间的盖体,避免了痰液暴露于空气中,降低了通过痰液传播疾病的风险。

























