授权专利
一种肾脏模型展示装置
公开(公告)号: CN218038368U
摘要附图:

标题: 一种肾脏模型展示装置
专利类型: 实用新型
申请日: 2022-09-01
公开(公告)日: 2022-12-13
发明人: 王晓静 | 董欢
当前申请(专利权)人: 首都医科大学附属北京潞河医院
IPC分类号: G09B23/28
法律状态/事件: 授权
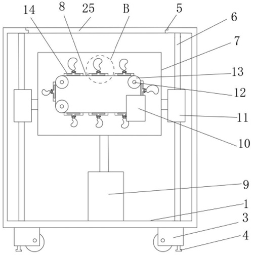
技术功效语段: [0017]通过气缸的活塞杆伸出/收回,肾脏模型从模型展示口收回至箱体内部,箱体内部可以收纳多个肾脏模型,便于一次性展示、存放和移动众多不同的肾脏模型,肾脏模型从模型展示口伸出箱体外部,观众可以观摩到箱体外部的肾脏模型。导轨对支架的移动进行辅助导向,避免支架发生偏移,可以更加精准的从模型展示口内伸出/收回,提高了本实用新型承载模型的重量和数量,增强该装置的部件强度,延长了装置的使用寿命。 [0018]当然,实施本实用新型的任一产品必不特定需要同时达到以上所述的所有技术效果。 [0019]通过以下参照附图对本实用新型的示例性实施例的详细描述,本实用新型的其它特征及其优点将会变得清楚。
摘要: 本实用新型公开了一种肾脏模型展示装置,包括箱体,所述箱体具有模型展示口,所述箱体内设有气缸,所述气缸的活塞杆朝向所述模型展示口方向伸缩;所述气缸的活塞杆连接有支架,所述支架转动连接有至少两根转动轴,每根所述转动轴套设有一同轴的皮带轮,多个所述皮带轮之间通过皮带连接;所述支架上设有电机,所述电机的动力轴和至少一根所述转动轴连接;所述皮带设有远离皮带轮一侧的运输端面;所述皮带的运输端面上设置有多个模型安装座;每个所述模型安装座上设置一模型;箱体内部可以收纳多个肾脏模型,便于一次性展示、存放和移动众多不同的肾脏模型。

























