授权专利
一种用于泌尿系统结石碎石取石术的碎石捕获装置
公开(公告)号: CN115349915B
摘要附图:

标题: 一种用于泌尿系统结石碎石取石术的碎石捕获装置
专利类型: 授权发明
申请日: 2022-10-19
公开(公告)日: 2023-01-24
当前申请(专利权)人: 首都医科大学附属北京潞河医院
IPC分类号: A61B17/22
法律状态/事件: 授权
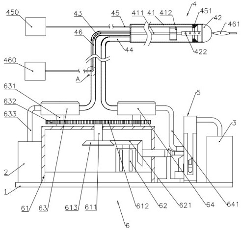
技术功效语段: [0017]其一,本发明的一种用于泌尿系统结石碎石取石术的碎石捕获装置,第一定位组件和第二定位组件改变捕捉机构捕捉细小碎石颗粒的范围大小,然后通过驱动系统工作驱使捕捉机构将细小碎石颗粒进行捕捉作业以及驱使过滤机构进行过滤作业本发明实现了捕捉细小碎石颗粒。 [0018]其二,本发明的一种用于泌尿系统结石碎石取石术的碎石捕获装置,相较于现有技术,帽头和导管分离之后的间隙大小可调节,即冲刷至输尿管内壁上区域可调节,帽头和导管分离后能够稳定定位固定,不会发生意外回缩的情况。 [0019]其三,本发明的一种用于泌尿系统结石碎石取石术的碎石捕获装置,相较于现有技术,简化了驱动系统,使得驱动系统结构简单化,便于维护。 [0020]其四,本发明的一种用于泌尿系统结石碎石取石术的碎石捕获装置,采用弧形过滤网,然后向弧形过滤网底部间隔性喷气的方式使得弧形过滤网能够避免堵塞,而且还能够加快冲洗剂进入到消毒机构内的速度。
摘要: 本发明属于医疗器械领域,涉及一种用于泌尿系统结石碎石取石术的碎石捕获装置,包括底座,底座上固定有冲洗剂箱和消毒机构,冲洗剂箱内设有冲洗剂,还包括捕捉机构、过滤机构和驱动系统;所述捕捉机构上设有用于改变捕捉范围大小的第一定位组件和第二定位组件;驱动系统设置在底板上,过滤机构位于驱动系统的旁侧,消毒机构与过滤机构传动连接,过滤机构和捕捉机构均与驱动系统传动连接。本发明实现了捕捉细小碎石颗粒,还能够调节冲洗剂作用到输尿管内的范围大小,灵活度较高。

























