授权专利
足部检查箱
公开(公告)号: CN218391277U
摘要附图:

标题: 足部检查箱
专利类型: 实用新型
申请日: 2022-03-22
公开(公告)日: 2023-01-31
发明人: 王晓静 | 许洪蕊
当前申请(专利权)人: 首都医科大学附属北京潞河医院
IPC分类号: A61B50/31 | A61L2/10
法律状态/事件: 授权
技术功效语段: [0022]本申请通过第一隔板组和第二隔板组能够实现将各类物品分类放置,便于医疗工作者使用时随时取放,提升其工作效率;通过箱体内导轨与箱盖上导轨槽的滑动连接,可以将箱盖上表面当做一个展示平台,给糖尿病足患者展示各种物品,并做健康宣教,同时能够避免将做健康宣教或足部检查的物品直接放置于糖尿病足患者病床或床头上;通过紫外线消毒灯可以根据实际需求进行消毒,避免交叉感染。 [0023]当然,实施本实用新型的任一产品必不特定需要同时达到以上所述的所有技术效果。 [0024]通过以下参照附图对本实用新型的示例性实施例的详细描述,本实用新型的其它特征及其优点将会变得清楚。
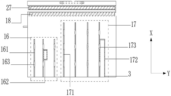
摘要: 本实用新型公开了足部检查箱,包括箱体和箱盖;箱体包括底板,底板周缘依次连接第一侧板、第二侧板、第三侧板和第四侧板;底板上设置有第一隔板组和第二隔板组;第一隔板组包括至少两个第一隔板,第二隔板组包括至少两个第二隔板;第二侧板与第四侧板远离底板一侧的内表面分别设置有导轨;箱盖包括顶板,顶板底部依次设置有第五侧板、第六侧板和第七侧板,顶板、第五侧板、第六侧板与第七侧板之间形成中空结构;箱盖包括紫外线消毒灯,紫外线消毒灯位于中空结构;第五侧板和第七侧板的外表面设置有与导轨相配合的导轨槽,导轨沿着第二方向与导轨槽滑动连接。本申请能够实现将各类物品分类放置,便于医疗工作者使用时随时取放。

























