授权专利
静脉溃疡辅助水疗仪
公开(公告)号: CN218500993U
摘要附图:

标题: 静脉溃疡辅助水疗仪
专利类型: 实用新型
申请日: 2022-06-01
公开(公告)日: 2023-02-21
发明人: 吴伟伟
当前申请(专利权)人: 首都医科大学附属北京潞河医院
IPC分类号: A61H39/04 | A61H9/00 | A61M3/02 | A61M35/00
法律状态/事件: 授权
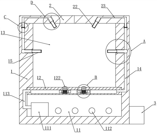
技术功效语段: [0017]分盖和弧形槽的设计,能够有效的将患者的腿部与桶盖之间连接固定且密封,这样的设计,当桶盖与水疗仪本体连接密封后,能够保证水疗腔内具有良好的密封性,从而便于增压泵对水疗腔内压力的调节控制,加上第一喷淋管可伸缩的设计,使第一喷淋管能够通过向外弹出的方式,更好的去接近患者腿部的皮肤,使液体能够直接对患者腿部进行喷淋冲洗,这样的方式,能够在有一定压力的同时,又能够通过第一喷淋管对伤口进行冲洗,伤口和伤口皮肤都被清洗和软化之后,再进行创面处理就更加容易而且可以促进伤口愈合;增加泵的加入,能够利用水压对下肢进行压力治疗,促进血液循环,减轻肿胀。
摘要: 本公开公开了一种静脉溃疡辅助水疗仪,包括水疗仪本体,水疗仪本体为桶体状,且水疗仪本体开口处设有可拆卸连接且用于水疗仪本体密封的桶盖,桶盖包括两个分盖,两个分盖连接处均设有用于腿部卡合的弧形槽,水疗仪本体底部设有固定连接且用于将水疗仪本体分为水疗腔和储水腔的分隔板,分隔板上设有用于水疗腔和储水腔相连通的回流孔,水疗腔内壁上设有多个可伸缩且用于伤口处喷淋的第一喷淋管,储水腔内设有水泵,水泵与第一喷淋管相连通,所述水疗本体被配置为所述水疗腔对应脚踝处的压力控制在40‑75mmHg。该静脉溃疡辅助水疗仪能够在有一定压力的同时,又能够通过第一喷淋管对伤口进行冲洗,伤口和伤口皮肤都被清洗和软化之后,再进行创面处理就更加容易而且可以促进伤口愈合。

























