授权专利
一种鼻氧管防尘装置
公开(公告)号: CN218607665U
摘要附图:

标题: 一种鼻氧管防尘装置
专利类型: 实用新型
申请日: 2022-10-21
公开(公告)日: 2023-03-14
发明人: 包素铭 | 李莎 | 董欢
当前申请(专利权)人: 首都医科大学附属北京潞河医院
IPC分类号: A61M16/04 | A61M16/00
法律状态/事件: 授权
技术功效语段: [0018]本实用新型提供的一种鼻氧管防尘装置,滑块可以沿导轨的滑动方向,从导轨的端部取出,可以适应不同人员的身体状况,根据人员使用的鼻氧管的型号,挑选更换具有对应型号防尘孔的滑块或者调整两个滑块之间的间距,从而扩大适用人员的范围,还便于清洗和更换滑块,能够有效的保证鼻氧管的卫生需求,同时方便更换和固定鼻氧管;更换后再插入堵头,防止滑块从导轨上脱落;具体使用时直接从防尘孔中取下即可,无需将喇叭口插接至流量表的快速插头上,无需医务人员进行操作。 [0019]当然,实施本实用新型的任一产品必不特定需要同时达到以上所述的所有技术效果。 [0020]通过以下参照附图对本实用新型的示例性实施例的详细描述,本实用新型的其它特征及其优点将会变得清楚。
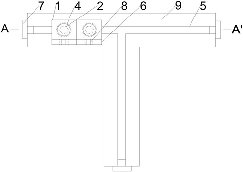
摘要: 本实用新型公开了一种鼻氧管防尘装置,包括导轨,导轨设有至少一个滑块,滑块可沿导轨滑动;滑块开设有防尘孔;防尘孔上设有可拆卸的防尘塞;沿防尘塞指向导轨的方向上,防尘孔的长度L大于鼻氧管的鼻管长度;滑块设有用于固定鼻氧管的卡夹;导轨沿滑动方向的端部设有可拆卸的堵头;导轨远离滑块的一侧外表面设有吸附件;导轨开设有滑槽,滑块上固定设有滑动连接件,滑动连接件插入滑槽内且沿滑槽滑动,滑动连接件为弹性材料;滑槽的横截面面积小于滑动连接件的横截面面积。本鼻氧管防尘装置,可以根据鼻氧管的型号挑选更换滑块或者调整两个滑块之间的间距,还便于清洗和更换滑块,能够有效的保证鼻氧管的卫生需求,同时方便更换和固定鼻氧管。

























