授权专利
一种负压转运舱
公开(公告)号: CN218792813U
摘要附图:

标题: 一种负压转运舱
专利类型: 实用新型
申请日: 2023-02-09
公开(公告)日: 2023-04-07
发明人: 刘悦
当前申请(专利权)人: 首都医科大学附属北京潞河医院
IPC分类号: A61G5/00 | A61G5/10 | A61G10/00
法律状态/事件: 授权
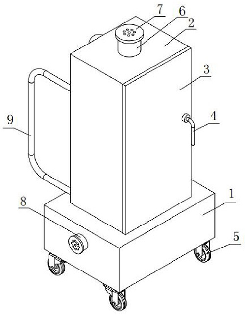
技术功效语段: [0022]1、本实用新型提供的负压转运舱,设置的主体结构主要由中空底座、后盖板、透明塑料舱体、透明塑料舱门以及座椅组成,患者可以脚踩中空底座进出透明塑料舱体,患者在进入透明塑料舱体的内部时,可以坐在座椅上部,无需躺倒,方便患者进出透明塑料舱体,尤其适用于短途转运患者; [0023]2、本实用新型提供的负压转运舱,设置的负压发生机构主要由吸气管、吸气泵、抽拉式药液盒、出气管以及蓄电池组成,在工作时,可以将透明塑料舱体内部的空气吸入抽拉式药液盒内部的消毒药液中进行消毒,然后通过出气口排出,同时能够保持透明塑料舱体的内部处于负压状态,可有效防止透明塑料舱体内部的气体外泄而使得患者携带的病菌传播出去而感染他人,并且可以长时间工作,可避免该负压转运舱在正在使用的情况下因无法排气而无法使用,实用性得到大幅提升。
摘要: 本实用新型提供了一种负压转运舱,包括:主体结构以及负压发生机构。主体结构包括中空底座、后盖板、透明塑料舱体、透明塑料舱门以及座椅;负压发生机构包括吸气管、吸气泵、抽拉式药液盒、出气管以及蓄电池。本实用新型提供的负压转运舱,患者在进入透明塑料舱体的内部时,可以坐在座椅上部,无需躺倒,方便患者进出透明塑料舱体,尤其适用于短途转运患者;能够保持透明塑料舱体的内部处于负压状态,可有效防止透明塑料舱体内部的气体外泄而使得患者携带的病菌传播出去而感染他人,并且可以长时间工作,可避免该负压转运舱在正在使用的情况下因无法排气而无法使用,实用性得到大幅提升。

























