授权专利
一种类风湿关节炎患者足部加热理疗袜
公开(公告)号: CN218500015U
摘要附图:

标题: 一种类风湿关节炎患者足部加热理疗袜
专利类型: 实用新型
申请日: 2022-11-08
公开(公告)日: 2023-02-21
发明人: 张晶
当前申请(专利权)人: 首都医科大学附属北京潞河医院
IPC分类号: A41B11/00 | A61F7/00 | A61H39/04
法律状态/事件: 授权
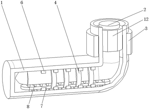
技术功效语段: [0014]1、本实用新型通过保温套和加热圈能够对袜体进行加热,夜间给予患者足部和小关节的保暖,有效缓解患者晨僵,然后通过小型气泵不断对空腔内部注气和吸气,利用气压将空心凸起膜推起和收缩,空心凸起膜受到压强,膨胀时能够对患者足底进行按摩作业,促进血液循环,有效防止止痛物质的堆积,促进炎症消散,从而减轻疼痛。 [0015]2、本实用新型通过固定套和连接杆,能够有效地对保温套进行固定,避免固定套在袜体的外表面随意滑动,通过支撑块二能够有效地保证安装板于保温套之间产生一定距离,通过空心凸起膜的均匀分布能够有效地对使用人员足底进行按摩。
摘要: 本实用新型公开了一种类风湿关节炎患者足部加热理疗袜,涉及袜子技术领域,包括袜体,所述袜体的底面设有安装板,安装板的内部开设有空腔,安装板的上表面固定连通有等距离排列的空心凸起膜,且每个空心凸起膜均与空腔相连通,袜体的外表面套设有等距离排列的固定环,每个固定环的底端均与安装板的外表面固定连接。它能够通过保温套和加热圈能够对袜体进行加热,夜间给予患者足部和小关节的保暖,有效缓解患者晨僵,然后通过小型气泵不断对空腔内部注气和吸气,利用气压将空心凸起膜推起和收缩,空心凸起膜受到压强,膨胀时能够对患者足底进行按摩作业,促进血液循环,有效防止止痛物质的堆积,促进炎症消散,从而减轻疼痛。

























