授权专利
一种深静脉Y型穿刺置管组件
公开(公告)号: CN218870429U
摘要附图:

标题: 一种深静脉Y型穿刺置管组件
专利类型: 实用新型
申请日: 2023-01-02
公开(公告)日: 2023-04-18
发明人: 刘悦
当前申请(专利权)人: 首都医科大学附属北京潞河医院
IPC分类号: A61B17/34
法律状态/事件: 授权
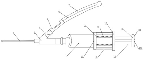
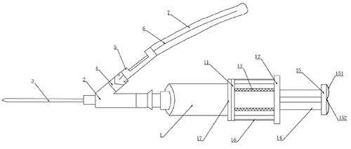
技术功效语段: [0020]由于现有的注射器在进行推送的时候,用拇指按压按压板,用食指和中指与凸缘抵靠,即可对注射杆进行按压,实现推送的功能,而在抽吸的时候,需要改变对注射器把握的姿势,才能够将注射杆向外拉动,实现抽吸,这样的方式,在频繁进行抽吸和推送的功能时,十分的麻烦,第一支撑带和第二支撑带的加入,能够使用户在使用的时候,通过不同的手指插入相应的第一支撑带和第二支撑带,能够使手指分别将注射管和注射杆进行固定,这直接通过手指的运动,即可实现了注射杆的来回运动,实现注射器的抽吸和推送的功能,在使用的时候,不需要用户像传统的方式,需要改变手对注射器的握住姿势,去分别实现注射器的抽吸和推送,更加的方便。
摘要: 本实用新型公开了一种深静脉Y型穿刺置管组件,包括穿刺针、Y型接头、导丝、导丝支架、注射器和导管,注射器包括注射管和注射杆,注射杆可来回运动的设置在注射管调节口一端,且注射杆端部设有固定连接且用于按压的按压板,注射管上设有凸缘,注射管上还设有可形变且用于用户在使用时手指插入限位支撑的第一支撑带,按压板上设有可形变且用于用户将注射杆向外拉动时对手指进行限位支撑的第二支撑带;接通过手指的运动,即可实现了注射杆的来回运动,实现注射器的抽吸和推送的功能,在使用的时候,不需要用户像传统的方式,需要改变手对注射器的握住姿势,去分别实现注射器的抽吸和推送,更加的方便。

























