授权专利
一种体位固定器
公开(公告)号: CN218792871U
摘要附图:

标题: 一种体位固定器
专利类型: 实用新型
申请日: 2023-02-27
公开(公告)日: 2023-04-07
发明人: 乔政
当前申请(专利权)人: 首都医科大学附属北京潞河医院
IPC分类号: A61G7/065 | A61G7/07 | A61G7/075 | A61F5/37 | A61F5/40
法律状态/事件: 授权
技术功效语段: [0021]本实用新型提供的体位固定器主要由底板、头部支撑座、两个腿部限位套、生殖器保护壳以及腹部固定组件组成,可防止睡着患者的双腿相互靠近而挤压生殖器上的切口,同时可有效防止在睡着以后患者不自主地进行翻身而导致生殖器上的切口被碰到而影响愈合速度。
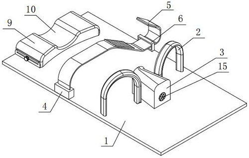
摘要: 本实用新型提供了一种体位固定器,包括:底板、头部支撑座、两个腿部限位套、生殖器保护壳以及腹部固定组件。头部支撑座的上部居中开设有头部定位槽;两个腿部限位套对称且固定地安装在底板的上部;生殖器保护壳固定安装在底板的上部,且设于两个腿部限位套之间中心位置处,生殖器保护壳朝向头部支撑座的一侧为开口结构;腹部固定组件包括配装块、固定套以及腹部固定带。本实用新型提供的体位固定器主要由底板、头部支撑座、两个腿部限位套、生殖器保护壳以及腹部固定组件组成,可防止睡着患者的双腿相互靠近而挤压生殖器上的切口,同时可有效防止在睡着以后患者不自主地进行翻身而导致生殖器上的切口被碰到而影响愈合速度。

























