授权专利
一种新型一次性防护口罩
公开(公告)号: CN218960119U
摘要附图:

标题: 一种新型一次性防护口罩
专利类型: 实用新型
申请日: 2022-11-09
公开(公告)日: 2023-05-05
发明人: 房冬冬
当前申请(专利权)人: 首都医科大学附属北京潞河医院
IPC分类号: A41D13/11 | A41D27/00
法律状态/事件: 授权
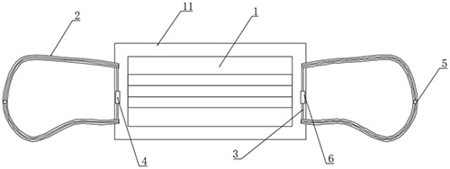
技术功效语段: [0016]延伸绳的设计,能够改变原有传统口罩通过挂耳绳穿戴的方式,通过延伸绳之间相互连接,从而绑在了后脑勺,避免绑耳朵,提升耳朵舒适感,同时延伸绳与挂耳绳中部的连接固定,加上延伸绳与挂耳绳的可拆卸连接,在不改变原有传统口罩的形式上,将延伸绳隐藏在挂耳绳上,使用户可以根据不同的需求,使用不同的穿戴方式,功能更多,可选择性强。 [0017]参照后文的说明和附图,详细公开了本实用新型的特定实施方式,指明了本实用新型的原理可以被采用的方式。应该理解,本实用新型的实施方式在范围上并不因而受到限制。
摘要: 本实用新型公开了一种新型一次性防护口罩,包括口罩本体,所述口罩本体外侧设有固定连接的边框,所述边框两侧设有固定连接的挂耳绳,所述挂耳绳外侧设有可拆卸连接的延伸绳,所述延伸绳中部与挂耳绳中部固定连接。延伸绳的设计,能够改变原有传统口罩通过挂耳绳穿戴的方式,通过延伸绳之间相互连接,从而绑在了后脑勺,避免绑耳朵,提升耳朵舒适感,同时延伸绳与挂耳绳中部的连接固定,加上延伸绳与挂耳绳的可拆卸连接,在不改变原有传统口罩的形式上,将延伸绳隐藏在挂耳绳上,使用户可以根据不同的需求,使用不同的穿戴方式,功能更多,可选择性强。

























