授权专利
一种用于血液透析的组合式保护装置
公开(公告)号: CN113975033B
摘要附图:

标题: 一种用于血液透析的组合式保护装置
专利类型: 授权发明
申请日: 2021-11-18
公开(公告)日: 2023-04-25
发明人: 马思慧 | 蔡佳杰
当前申请(专利权)人: 首都医科大学附属北京潞河医院
IPC分类号: A61G7/075 | A61G7/05 | A61H15/00 | A61M35/00 | A61B90/14 | A61L2/18 | A61L2/24
法律状态/事件: 授权
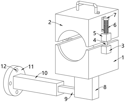
技术功效语段: [0034]1、该用于血液透析的组合式保护装置,血液透析时,将手臂放在下卡座与上卡座之间,通过上卡座和下卡座相对一侧的弧形槽便能够固定住手臂的位置,防止手臂移动,固定起来更加的方便,且固定效果较好。 [0035]2、该用于血液透析的组合式保护装置,固定手臂后,长时间保持在一个姿势可能会导致手臂酸痛,此时可以直接横移手臂调整手臂的位置,横移手臂时手臂通过上卡座、下卡座和底柜带动抽杆在抽筒内抽拉,可以非常方便的调整位置,使手臂处于舒适的位置,更便于血液透析的进行。 [0036]3、该用于血液透析的组合式保护装置,横移手臂使抽杆在抽筒内抽拉时,驱动轮会在抽筒内壁的齿条作用下旋转,驱动轮旋转带动竖轴旋转,竖轴旋转带动主动轮旋转,主动轮旋转通过同步带带动从动轮旋转,从动轮旋转带动底柜内的竖杆旋转,竖杆旋转带动其顶部的第一锥齿轮旋转,第一锥齿轮旋转带动其外壁啮合的第二锥齿轮旋转,第二锥齿轮旋转使转动筒在底柜内横向旋转,转动筒在底柜内横向旋转时,通过联动带和联动轮能够带动转轴旋转,转轴旋转带动其外壁设置的若干个按摩轮旋转,若干个按摩轮旋转时,其外壁均匀设置的凸块能够依次接触并顶起承托垫,从而能够对承托垫上的手臂进行按摩,一方面能够缓解手臂酸麻的症状,另一方面也能够促进血液循环,提高患者的舒适度。 [0037]4、该用于血液透析的组合式保护装置,上卡座设置在下卡座的顶部,手持把手向上提起上卡座,扩大上卡座与下卡座之间的距离,此时便能够把手臂放置在上卡座与下卡座之间,向上提起上卡座时,上卡座两侧的插块会向上移动并压缩弹簧,松开把手后,上卡座会在弹簧的弹力和上卡座自身重力的作用下下降,从而能够卡住手臂,固定住其位置。 [0038]5、该用于血液透析的组合式保护装置,上卡座弧形槽的内壁开设有管槽,管槽的内壁设置有弧形管,弧形管的底部均匀设置有出药管,弧形管与药箱之间通过输送管相连接,打开输送管上的控制阀,药箱内的消毒药液便能够通过输送管和弧形管从出药管排出,喷在下卡座的承托垫上,对承托垫进行消毒,保证承托垫的洁净,防止交叉感染,方便循环使用。 [0039]6、该用于血液透析的组合式保护装置,向上提起上卡座时,限位板外壁上的触发板在竖槽内滑动,当上卡座提起至最大高度时,触发板便会接触到触发开关,从而触发触发开关,触发开关的输出端与控制阀的输入端电性连接,当触发开关被触发时,自动使控制阀打开,从而能够自动排出消毒药液。
摘要: 本发明涉及血液透析技术领域,且公开了一种用于血液透析的组合式保护装置,包括下卡座和设置在下卡座上方的上卡座,所述下卡座和上卡座相对的一侧均形成有用于卡入手臂的弧形槽,所述下卡座的左右两侧均固定安装有固定块,两个所述固定块的顶部均固定安装固定杆,两个所述固定杆分别插设在两个插块的内部,两个所述插块分别固定安装在上卡座的左右两侧;通过上卡座和下卡座固定手臂后,长时间保持在一个姿势可能会导致手臂酸痛,此时可以直接横移手臂调整手臂的位置,横移手臂时手臂通过上卡座、下卡座和底柜带动抽杆在抽筒内抽拉,可以非常方便的调整位置,使手臂处于舒适的位置,更便于血液透析的进行。

























