授权专利
消化道压迫止血球囊组件
公开(公告)号: CN219147738U
摘要附图:

标题: 消化道压迫止血球囊组件
专利类型: 实用新型
申请日: 2022-08-23
公开(公告)日: 2023-06-09
发明人: 姚玉霞
当前申请(专利权)人: 首都医科大学附属北京潞河医院
IPC分类号: A61B17/12
法律状态/事件: 授权
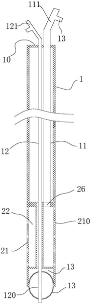
技术功效语段: [0019]本实施例中,第一管可操纵轴向移动地套设于所述导管内以使至少部分球囊伸出所述导管,通过抽拉推送的方式操纵第一管的近端,使得第一管远端的球囊的远近调整。再近端通过推送距离也可以控制球囊的推送长度,无需采用其他机械传动方式,提升该消化道压迫止血球囊组件的柔性,提升介入到体内的过弯性能,还能减少导管与第一管之间密封措施的使用,结构简单,便于实施制造。 [0020]球囊和第一管的设计,通过第一管对球囊的充放气,实现了球囊的膨胀,利用球囊的膨胀挤压,从而实现了止血,并且将球囊采用壳聚类可吸收止血材料构成,这样的设计,能够进一步的提高了整体的止血效果。 [0021]该消化道压迫止血球囊组件能及时的将出血处多余的血液进行及时的抽吸,暴露出血部位,球囊内充气或注水的压力来控制压迫出血点,达到止血目的,抢救患者生命。 [0022]在球囊的外侧设置第二管和清理孔,能够利用第二管和清理孔将球囊处的血液及时的抽吸,从而使视野更清晰,在和其他医疗设备相配合使用,能够更好的使球囊更精准更快速的找到出血点,从而及时的将出血点进行挤压止血。
摘要: 本实用新型公开了一种消化道压迫止血球囊组件,包括导管、可充气膨胀球囊、所述球囊固定于远端并与其内部相连通的第一管、用于抽吸球囊处血液的第二管;所述第一管和所述第二管的近端伸出所述导管;所述第一管可操纵轴向移动地套设于所述导管内以使至少部分球囊伸出所述导管;所述导管邻近所述球囊的管壁上设有多个清理孔;所述第二管被配置与所述清理孔相连通。当出血较多时,可对出血部位进行冲洗,暴露出血点;球囊和第一管的设计,通过第一管对球囊的充放气,实现了球囊的膨胀,利用球囊的膨胀压迫,从而实现止血,并且将球囊采用壳聚类可吸收止血材料构成,避免压迫后缺血,可吸收材质可以防止取球囊时粘膜撕脱诱发再出血,这样的设计,既能够进一步的提高整体的止血效果,又能防止并发症发生。

























