授权专利
肛肠取物钳
公开(公告)号: CN219166549U
摘要附图:

标题: 肛肠取物钳
专利类型: 实用新型
申请日: 2022-10-20
公开(公告)日: 2023-06-13
发明人: 刘慧峰
当前申请(专利权)人: 首都医科大学附属北京潞河医院
IPC分类号: A61B17/29
法律状态/事件: 授权
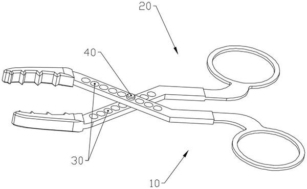
技术功效语段: [0024]1.通过本实用新型的方案,第一钳体包括第一连接部,第二钳体包括第二连接部,在第一连接部和第二连接部上均设置多个通孔,通过销柱插入对应通孔铰接第一钳体与第二钳体,通过销柱插入不同通孔,改变第一钳体与第二钳体铰接位置,调节第一钳头与第二钳头之间的距离,能够更好的匹配不同大小的异物,方便夹持; [0025]2.通过本实用新型的方案,第一钳头与第二钳头设置为弧形,由各自连接端之间的距离至远端之间的距离逐渐减小,并且,第一钳头包括第一侧面和第三侧面,第二钳头包括第二侧面和第四侧面,第三侧面与第一侧面弧形过渡连接,第四侧面与第二侧面弧形过渡连接,方便夹持装置深入直肠,不会直接碰撞到肠壁,减缓肠壁损伤; [0026]3.通过本实用新型的方案,将第一侧面与第二侧面设置为弧形面,在第一侧面和第二侧面上设置多个凸起,并且凸起的两侧面设置为弧形面,能够对异物具有更好的夹持性,提高异物取出的效率。
摘要: 本实用新型公开了肛肠取物钳,包括:第一钳体,与所述第一钳体铰接的第二钳体;所述第一钳体包括第一连接部,所述第二钳体包括第二连接部,在所述第一连接部和所述第二连接部上均水平间隔设置多个通孔;所述第一连接部上的多个所述通孔与所述第二连接部上的多个所述通孔对应设置;在所述通孔内设有销柱,所述销柱插入不同位置的对应所述通孔调节所述第一钳体与第二钳体的铰接位置。通过本实用新型的方案,能够根据异物大小选用不同位置的通孔来调节第一钳体与第二钳体的铰接位置,无需备用多个不同大小的夹持装置,为使用者带来便利。

























