授权专利
一种肠道专用的深度雾化给药装置
公开(公告)号: CN219271923U
摘要附图:

标题: 一种肠道专用的深度雾化给药装置
专利类型: 实用新型
申请日: 2022-11-19
公开(公告)日: 2023-06-30
发明人: 徐志刚 | 徐宝宏
当前申请(专利权)人: 首都医科大学附属北京潞河医院
IPC分类号: A61M31/00 | A61M25/14
法律状态/事件: 授权
技术功效语段: [0022]1.一种肠道专用的深度雾化给药装置,采用雾化的给药方式,雾化的液体进入降速囊体后流速降低,避免对肠道刺激过大,避免形成过快气流且液体的浓度得到增大,液体均匀吸附到肠壁内疗效好;考虑到气压可控问题,放气口在气压过高时,手动打开,避免患者出现腹胀不适情况,通常的,在给药完成后打开放气口进行排气避免腹胀,当然气压高低的判断可根据患者的临床反应而定; [0023]2.另一方面的,考虑到第一内设管在肠道内前进时遇到的受阻情况,如过弯或降升交界时第一内设管的支撑性不够不能继续通过的问题,设置被通过器;通过将被通过器前移到达过弯处并撑开,实现液体流量恢复,并可以根据是否恢复判断是否撑开过弯;总的来说,被通过器具有支撑能力,在第一内设管支撑性不够时从内部将第一内设管撑起,使第一内设管顺利过弯或通过降升结界,另外的,被通过器具备透气和透水性能不会造成阻塞、不影响液体的通过。
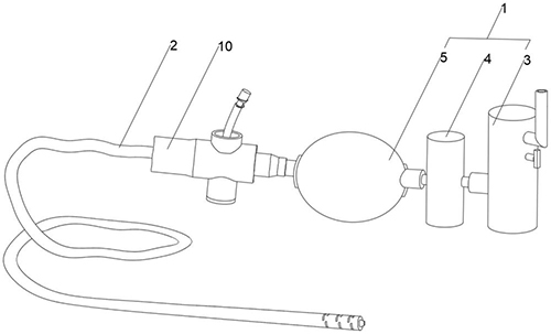
摘要: 本实用新型公开了一种肠道专用的深度雾化给药装置,包括:设置于人体外部的外设组件、设置于人体内部的内设组件;所述外设组件包括:第一容器、第一通过器、以及第二通过器;第一容器依次连通第一通过器、第二通过器;且第一容器内具有容纳空腔,所述容纳空腔内填充有液体,液体依次经过第一通过器、第二通过器并从第二通过器的端部流出;所述内设组件包括:第一内设管、第二内设管、以及被通过器,所述第二内设管和通过器均位于第一内设管内,所述第一内设管的端部对接第二通过器的端部,且第二通过器的另一端部具有排出孔;从第二通过器端部流出的液体流入第一内设管,液体在第一内设管内经过被通过器并从排出孔流出。

























