授权专利
腹部引流管收纳包
公开(公告)号: CN219558218U
摘要附图:

标题: 腹部引流管收纳包
专利类型: 实用新型
申请日: 2023-03-02
公开(公告)日: 2023-08-22
发明人: 崔喆
当前申请(专利权)人: 首都医科大学附属北京潞河医院
IPC分类号: A61M1/00 | A61M25/02 | A61G12/00
法律状态/事件: 授权
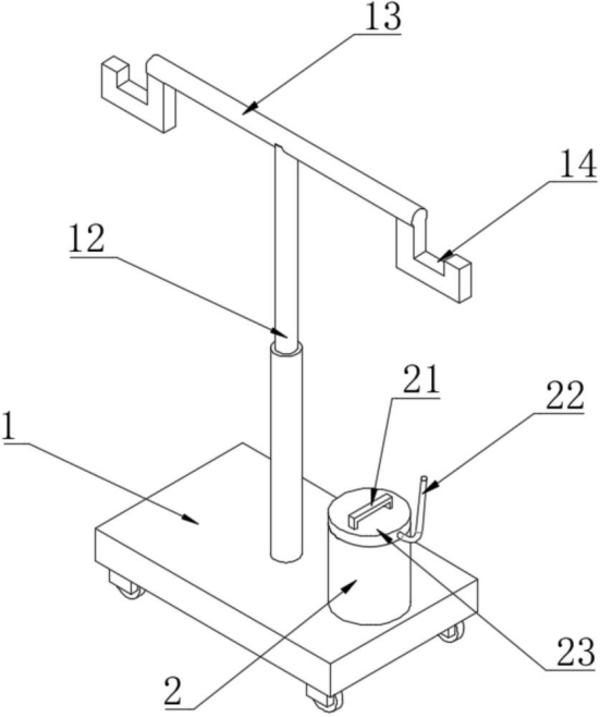
技术功效语段: [0017]收纳盒和盒盖的设计,能够将原有的引流瓶进行包装起来,可以通过将收纳盒固定在一个位置的方式,实现了引流瓶的固定,而盒盖和收纳盒的可拆卸,使用户需要带动引流瓶移动的时候,直接将盒盖与收纳盒解锁拆卸,即可通过盒盖将引流瓶进行携带,方便快捷,把手杆的设计,能够便于盒盖和引流瓶的携带,同时将原有盒盖中心处设置储存槽和回收轴,使引流管端部与回收轴连接,利用回收轴的转动,能够带动引流管能自动回收至储存槽内,实现了引流管的自动回收收纳,同时连通槽与引流管的连接,使引流管内的引流液能够自动进入引流瓶内实现回收储存;盒盖和引流瓶瓶口处的可拆卸连接,能够便于对引流瓶的更换。
摘要: 本实用新型公开了一种腹部引流管收纳包,包括引流瓶、引流管以及用于引流瓶储存的收纳盒,收纳盒上设有可拆卸的盒盖,且盒盖中心处设有储存槽,储存槽内设有可转动的回收轴,回收轴上设有连通槽,引流管端部活动穿过储存槽外侧壁与回收轴上的连通槽相连通,收纳盒和盒盖的设计,能够将原有的引流瓶进行包装起来,可以通过将收纳盒固定在一个位置的方式,实现了引流瓶的固定,而盒盖和收纳盒的可拆卸,使用户需要带动引流瓶移动的时候,直接将盒盖与收纳盒解锁拆卸,同时将原有盒盖中心处设置储存槽和回收轴,使引流管端部与回收轴连接,利用回收轴的转动,能够带动引流管能自动回收至储存槽内,实现了引流管的自动回收收纳。

























