授权专利
一种牙科专业椅
公开(公告)号: CN219439873U
摘要附图:

标题: 一种牙科专业椅
专利类型: 实用新型
申请日: 2023-06-27
公开(公告)日: 2023-08-01
发明人: 张晓娟
当前申请(专利权)人: 首都医科大学附属北京潞河医院
IPC分类号: A61G15/00 | A61G15/10 | A61G15/02 | A61G15/14
法律状态/事件: 授权
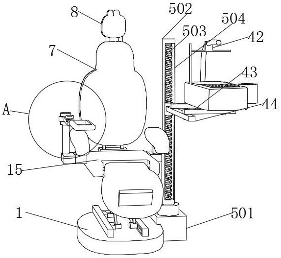
技术功效语段: [0013]1、该牙科专业椅,通过移动漱口台,可以在使用时通过丝杆、第二滑块、第二电机、第四连接杆、第三连接杆、漱口台的配合,在使用时便于患者进行漱口,其自动升起和转动的方式进行折叠,可以有效减少阻挡,避免给医生带来不便,设置滤网槽与水槽进行分类,避免交叉感染,便于清理,极大增加患者的便利。 [0014]2、该牙科专业椅,通过升降装置,可以在使用时通过第一电机、双向丝杆、第一电机、第一滑块、第二固定块、导向杆、长杆、T形滑块、T形槽的配合做到牙科椅的升降,根据患者的身形进行调节,极大提高患者坐立时的舒适度,并通过棘轮与棘爪的配合对靠背进行调节,其简单的调节方式极大提高医生的治疗效率,调节靠背,增加患者的舒适,减少心理压力,提高治疗效率。
摘要: 本实用新型公开了一种牙科专业椅,涉及牙科技术领域,包括底座,所述底座的一侧固定连接有连接块,所述连接块的顶部转动连接有第二固定柱,所述第二固定柱的外侧开设有第三槽,所述第三槽的内部转动连接有丝杆,所述丝杆的外侧滑动连接有第二滑块,所述第二滑块与第三槽滑动连接,所述连接块的内部固定安装有第二电机,本实用新型的有益效果为:通过移动漱口台,可以在使用时通过丝杆、第二滑块、第二电机、第四连接杆、第三连接杆、漱口台的配合,在使用时便于患者进行漱口,其自动升起和转动的方式进行折叠,可以有效减少阻挡,避免给医生带来不便,设置滤网槽与水槽进行分类,避免交叉感染,便于清理,极大增加患者的便利。

























