授权专利
一种腔镜用钩针
公开(公告)号: CN219331764U
摘要附图:

标题: 一种腔镜用钩针
专利类型: 实用新型
申请日: 2023-06-14
公开(公告)日: 2023-07-14
发明人: 孙武青 | 郝少龙 | 孙海涛 | 邱枫 | 潘玮瑄
当前申请(专利权)人: 首都医科大学附属北京潞河医院
IPC分类号: A61B17/04 | A61B17/94
法律状态/事件: 授权
技术功效语段: -
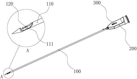
摘要: 本实用新型涉微创手术器械技术领域,具体提供一种腔镜用钩针,包括针筒和针柄,针筒的一端设置有针头,针头能够将陷于创口深处的缝线挑出;针头上设置有钩槽,通过钩槽能够钩住缝线并进行缝线的整理,缝合创口;针筒沿轴向滑动设置有挡杆,在钩槽钩住缝线时,挡杆能够封闭钩槽的开口,将缝线牢固地限制在钩槽中,能够有效地避免缝线脱钩;在将缝线移动至指定位置后,挡杆能够开放钩槽的开口,解除对缝线的限制。通过本结构的设计,能够实现钩住缝线时,缝线不会脱钩,且在释放缝线时,不需要调整针筒的角度,便于在狭小的工作区域内进行手术。

























