授权专利
一种新型髓核钳
公开(公告)号: CN219306847U
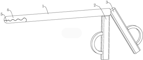
摘要附图:

标题: 一种新型髓核钳
专利类型: 实用新型
申请日: 2023-02-01
公开(公告)日: 2023-07-07
发明人: 路茜
当前申请(专利权)人: 首都医科大学附属北京潞河医院
IPC分类号: A61B17/28 | A61B17/56
法律状态/事件: 授权
技术功效语段: [0021]1.一种新型髓核钳,包括控制机构,控制机构可以控制控制滑块在驱动腔内部的移动,进而当控制滑块处于靠近固定夹板的位置时,此时铰接杆的后侧端将会在与之活动铰接的扭簧的作用下处于上扬状态,进而活动夹板的前端处于下沉状态,活动夹板将会远离固定夹板,而当控制机构带动控制滑块向驱动腔的后侧移动时,此时控制滑块将会挤压铰接杆的后侧端使其是处于水平状态,进而使得活动夹板处于水平状态,固定夹板和活动夹板相互贴合可以将髓核夹取。
摘要: 本实用新型公开了一种新型髓核钳,包括:固定夹板和活动夹板,所述固定夹板固定安装在探入杆的前端,活动夹板活动安装在探入杆的前端,所述探入杆的后侧端固定设有钳柄,所述固定夹板和活动夹板相对的面为波浪状结构设计,所述探入杆上设有控制活动夹板开合的开合机构;本实用新型中的控制机构可以控制控制滑块在驱动腔内部的移动,进而当控制滑块处于靠近固定夹板的位置时,进而活动夹板的前端处于下沉状态,活动夹板将会远离固定夹板,而当控制机构带动控制滑块向驱动腔的后侧移动时,此时控制滑块将会挤压铰接杆的后侧端使其是处于水平状态,进而使得活动夹板处于水平状态,固定夹板和活动夹板相互贴合可以将髓核夹取。

























