授权专利
一种用于测量大鼠双侧肩关节外展角的固定装置
公开(公告)号: CN219963153U
摘要附图:

标题: 一种用于测量大鼠双侧肩关节外展角的固定装置
专利类型: 实用新型
申请日: 2023-03-30
公开(公告)日: 2023-11-07
发明人: 张焱 | 刘亮 | 陈学明 | 刘涛 | 马子谦 | 张杰
当前申请(专利权)人: 首都医科大学附属北京潞河医院
IPC分类号: A61D3/00 | A61B5/11
法律状态/事件: 授权
技术功效语段: -
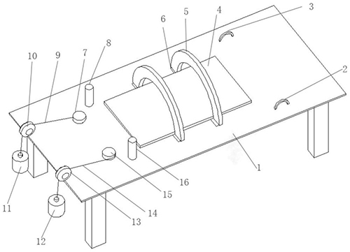
摘要: 本实用新型涉及动物实验设备技术领域,具体而言,涉及一种用于测量大鼠双侧肩关节外展角的固定装置,包括:支撑架、固定机构、防滑垫装置和滑轮牵拉机构;固定机构、防滑垫装置和滑轮牵拉机构均置于支撑架上,固定机构下设有防滑垫装置,防滑垫装置位于支撑架的支撑板中部,滑轮牵拉机构固定于支撑架的支撑板边缘位置。本实用新型解决了现有固定装置不能妥善对大鼠肱骨实现被动外展,从而准确测量出双侧肩关节外展角大小的问题,为医学科研人员在研究冻结肩的疾病进展与康复提供可靠的数据支持。

























