授权专利
一种防反流甘油灌肠剂辅助器
公开(公告)号: CN219764275U
摘要附图:

标题: 一种防反流甘油灌肠剂辅助器
专利类型: 实用新型
申请日: 2023-04-06
公开(公告)日: 2023-09-29
发明人: 贾利华
当前申请(专利权)人: 首都医科大学附属北京潞河医院
IPC分类号: A61M31/00
法律状态/事件: 授权
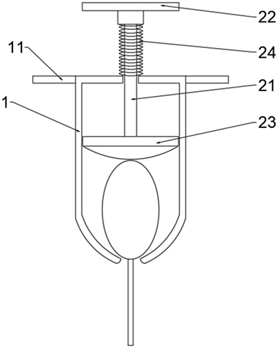
技术功效语段: [0017]注射筒的内部能够放置甘油灌肠剂,通过顶推装置对其进行挤压,使内部的药剂流出,相对于传统的用手直接对容纳药剂的容器进行挤压时,药剂容器的受力面积更大,能够使药剂充分的被挤出,避免了手指间隙导致的对药剂挤压不充分导致药剂残留的问题,避免了药剂的浪费,并且,本申请提供的辅助器更方便维持对药剂容器的挤压力度,能够避免药剂反流的问题。
摘要: 本实用新型涉及医疗器械技术领域,提供了一种防反流甘油灌肠剂辅助器,包括注射筒和顶推装置,注射筒内部具有空腔,所述注射筒的顶部和底部均开设有通孔,所述顶推装置的一端设置于所述注射筒的内部,另一端穿过所述注射筒顶部的通孔并延伸至外部,所述顶推装置位于所述注射筒内部的一端于所述注射筒内部的药剂容器抵接,解决了现有技术中存在的由于受力不均导致的药剂无法充分被挤出的技术问题。

























