授权专利
一种尿液收集装置
公开(公告)号: CN219614509U
摘要附图:

标题: 一种尿液收集装置
专利类型: 实用新型
申请日: 2022-09-26
公开(公告)日: 2023-09-01
发明人: 尚海娟
当前申请(专利权)人: 首都医科大学附属北京潞河医院
IPC分类号: A61M1/00 | A61M25/00
法律状态/事件: 授权
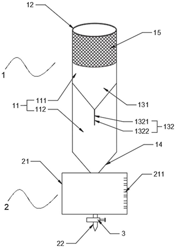
技术功效语段: [0031]本实用新型提供的尿液收集装置,包括引流组件和集尿组件,引流组件包括主体,调节结构设置于主体的一端,主体的另一端设置为锥形结构。通过设置调节结构,用于调节主体的端部松紧,使主体的端部更好的与患者阴茎相适配,避免过紧导致患者龟头水肿、过松引起漏尿的问题。通过在主体的内部设置单向流动控制结构,单向流动控制结构将主体的内部分隔为容置腔体和导流腔体,容置腔体包裹患者阴茎,在有尿液经过时单向流动控制结构打开,患者排尿后关闭,使尿液顺利进入至导流腔体后排出,避免尿液反流。通过在主体的另一端即导流腔体的端部设置锥形结构,以便于尿液顺利排放至集尿组件内,避免尿液积聚在主体内。通过设置尿袋与导流腔体连通,使尿液顺利进入至尿袋内进行收集后处理。整体结构简单,能提高患者的使用舒适性,且护理人员操作简便,可有效地减轻护理人员的负担,且避免伤害患者。
摘要: 本实用新型提供了一种尿液收集装置,涉及医疗用具技术领域,以解决目前常见的留置尿管、穿戴尿不湿或使用一次性保鲜膜等为患者收集尿液的护理方式会影响患者的舒适度,若护理不当更会给患者带来潜在的危害的技术问题。该装置包括引流组件和集尿组件,引流组件包括主体、调节结构以及单向流动控制结构,调节结构设置于主体的一端,主体的另一端设置为锥形结构;单向流动控制结构设置于主体的内部,单向流动控制结构将主体的内部分隔为容置腔体和导流腔体;集尿组件包括尿袋,尿袋与锥形结构连接,尿袋与导流腔体连通设置。本实用新型能够提高患者的使用舒适性,护理操作简便,可有效地减轻护理人员的负担,且避免伤害患者。

























