授权专利
一种儿科医用物理降温装置
公开(公告)号: CN220512994U
摘要附图:

标题: 一种儿科医用物理降温装置
专利类型: 实用新型
申请日: 2023-06-20
公开(公告)日: 2024-02-23
发明人: 雷青
当前申请(专利权)人: 首都医科大学附属北京潞河医院
IPC分类号: A61F7/10
法律状态/事件: 授权
技术功效语段: [0012]1.本实用新型通过设有微型制冷器,有利于将水进行降温使得患者无需多次更换冰袋进行物理降温,减少医护人员劳动强度。
[0013]2.本实用新型通过设有回流管,有利于将冰袋中温度增高的水源通过回流管回流至降温箱内的循环降温机构进行重新制冷,避免造成水资源的浪费。
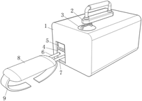
摘要: 本实用新型涉及医疗降温技术领域,且公开了一种儿科医用物理降温装置,所述降温箱顶部固定连接有握把,所述降温箱顶部一侧活动连接有橡胶塞,所述降温箱一侧靠近底部位置内部固定连接有流量调节器,所述流量调节器远离降温箱的一侧表面靠近顶部位置开设有控制器,所述流量调节器远离降温箱一侧表面靠近底部位置固定连接进水管,所述进水管远离流量调节器的一侧固定连接有冰袋,所述冰袋两侧表面均固定连接有绑带,所述冰袋靠近进水管的一侧表面另一侧固定活动连接有回流管,所述回流管远离冰袋的一侧固定连接在流量调节器表面一侧,通过设有微型制冷器,有利于将水进行降温使得患者无需多次更换冰袋进行物理降温,减少医护人员劳动强度。

























