授权专利
一种血液透析双腔留置针
公开(公告)号: CN220588673U
摘要附图:

标题: 一种血液透析双腔留置针
专利类型: 实用新型
申请日: 2023-06-26
公开(公告)日: 2024-03-15
发明人: 赵丹 | 赵朋举
当前申请(专利权)人: 首都医科大学附属北京潞河医院
IPC分类号: A61M1/16
法律状态/事件: 授权
技术功效语段: [0013]1、本实用新型中,通过使用双延长管、双透析管接头和双肝素帽,使得输液器的连接方便性得到提高,在其中一个受损或污染后,在对应的延长管上第二止血夹夹住,使用另一个透析管接头,进而不需要进行留置针更换,进而减少了留置针受损或污染后的反复穿刺。[0014]本实用新型的附加方面和优点将在下面的描述中部分给出,部分将从下面的描述中变得明显,或通过本实用新型的实践了解到。
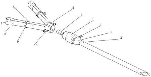
摘要: 本实用新型公开了一种血液透析双腔留置针,其包括:螺旋接头,所述螺旋接头的一端插接有软管,所述软管的另一端的外侧套设有导管,所述导管上设置有引血孔;所述螺旋接头的另一侧螺纹连接有螺旋接头帽,所述螺旋接头帽的另一侧设置有两个延长管,所述延长管的另一端固定有透析管接头,所述透析管接头的另一侧拧入有肝素帽;通过上述结构,通过使用双延长管、双透析管接头和双肝素帽,使得输液器的连接方便性得到提高,在其中一个受损或污染后,在对应的延长管上第二止血夹夹住,使用另一个透析管接头,进而不需要进行留置针更换,进而减少了留置针受损或污染后的反复穿刺。

























