授权专利
一种心内科听诊器的消毒设备
公开(公告)号: CN220655999U
摘要附图:

标题: 一种心内科听诊器的消毒设备
专利类型: 实用新型
申请日: 2023-06-16
公开(公告)日: 2024-03-26
发明人: 陈文明
当前申请(专利权)人: 首都医科大学附属北京潞河医院
IPC分类号: A61L2/10 | A61L2/24 | A61L2/26
法律状态/事件: 授权
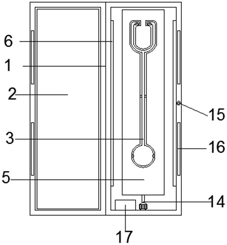
技术功效语段: [0016]本实用新型提供了一种心内科听诊器的消毒设备,具备以下有益效果:[0017](1)、本实用新型通过设置箱门、压力传感器、PLC和电机,使用者关上箱门,箱门按压压力传感器,压力传感器传出信息到PLC,PLC发出指令到电机转动。[0018](2)、本实用新型通过设置听诊器支架板、听诊器凹槽、听诊器、凹槽、矩形凹槽、活塞、夹块、J形勾、限位块和密封圈,使用者打开箱门,压力传感器传出信息到PLC,PLC发出指令到电机转动,使听诊器支架板的正面对准箱门,向下拉动两个J形勾,同时把听诊器放置到两个J形勾上,两个J形勾带动两个最上活塞向下移动到限位块处,凹槽内的气体进入矩形凹槽内推动两个中部活塞和最下方两个活塞移动,两个中部活塞和最下方两个活塞带动中部两个夹块和最下方两个夹块运动,保持听诊器呈垂直状态,同时夹住听诊器防止转动时听诊器甩动。
摘要: 本实用新型公开了一种心内科听诊器的消毒设备,具体涉及医疗器械技术领域,包括箱体,所述箱体的前表面转动连接有箱门,所述箱体的前表面固定有压力传感器,所述箱体内部的下表面位于所述PLC的右侧固定有电机,使用者打开箱门,压力传感器传出信息到PLC,PLC发出指令到电机转动,使听诊器支架板的正面对准箱门,向下拉动两个J形勾,同时把听诊器放置到两个J形勾上,两个J形勾带动两个最上活塞向下移动到限位块处,凹槽内的气体进入矩形凹槽内推动两个中部活塞和最下方两个活塞移动,两个中部活塞和最下方两个活塞带动中部两个夹块和最下方两个夹块运动,保持听诊器呈垂直状态,同时夹住听诊器防止转动时听诊器甩动。

























