授权专利
一种儿科护理负压洗胃装置
公开(公告)号: CN221692295U
摘要附图:

标题: 一种儿科护理负压洗胃装置
专利类型: 实用新型
申请日: 2024-01-22
公开(公告)日: 2024-09-13
申请号: CN202420148217.6
发明人: 韩颖
当前申请(专利权)人: 首都医科大学附属北京潞河医院
IPC分类号: A61M3/02
法律状态/事件: 授权
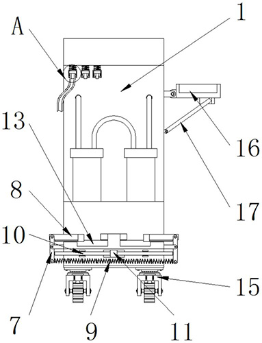
技术功效语段: [0014]与现有技术相比,本实用新型的有益效果是:该儿科护理负压洗胃装置便于对软管进行固定连接,避免软管松动,便于避免桶内液体侧翻,便于存放医用工具;[0015]1、设置有钢珠、套壳和凸块,通过将软管安装在管口的下端,且在安装软管前需要将套壳向上推动,当安装好之后套壳通过第一弹簧的回弹向下滑动,且套壳在运动时带动凸块将钢珠向管口的内部挤压,使得钢珠低压住软管,从而固定住软管的位置,便于对软管进行固定连接,避免软管松动;[0016]2、设置有夹壁、斜块和固定弧板,通过启动伸缩杆带动斜块向前运动,且斜块在运动时带动第二连接杆向两端运动,同时第二连接杆带动第一连接杆进行翻转,使得第一连接杆带动夹壁对放置在凹槽上端的桶进行挤压,直到将桶挤压与凹槽贴合,便于避免桶内液体侧翻;[0017]3、设置有托盘和支撑杆,通过将托盘向上转动,且托盘转动到一定位置时,将支撑杆向上转动卡合在托盘的下端,从而固定住托盘的位置,托盘的位置稳定之后,即可在上端槽内放置洗胃时需要用的工具,便于存放医用工具。
摘要: 本实用新型公开了一种儿科护理负压洗胃装置,包括:用于安装的洗胃机本体,固定安装在洗胃机本体上端的管口;还包括:钢珠,所述管口的下端内部安装有钢珠,且管口的外端安装有第一弹簧和套壳,并且套壳位于第一弹簧的下端;第一连接杆,所述第一连接杆安装在洗胃机本体的下端,且第一连接杆关于洗胃机本体的中心线对称设置,所述第一连接杆的上端连接有夹壁,且第一连接杆的下端连接有第二弹簧,所述第一连接杆的下段板体设置有第二连接杆,且第二连接杆远离第一连接杆的一端设置有斜块。该儿科护理负压洗胃装置便于对软管进行固定连接,避免软管松动,便于避免桶内液体侧翻,便于存放医用工具。

























