授权专利
一种带有储水罐的呼吸机管路系统
公开(公告)号: CN221637032U
摘要附图:

标题: 一种带有储水罐的呼吸机管路系统
专利类型: 实用新型
申请日: 2023-10-18
公开(公告)日: 2024-09-03
申请号: CN202322798690.7
发明人: 于娜
当前申请(专利权)人: 首都医科大学附属北京潞河医院
IPC分类号: A61M16/16 | A61M16/08 | A61M16/00
法律状态/事件: 授权
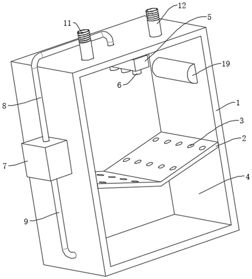
技术功效语段: [0014]1.本实用新型设置了泵体,通过第二输液管对储水仓内的水进行抽吸,并由第一输液管输送至条管内部,然后由雾化喷头喷出,使得氧气在流通过程中充分与水接触,提高患者吸氧的舒适感;雾化喷头喷出的水雾下降过程中会滴落到隔板上,并由圆孔进入储水仓进行循环使用,提高水资源的利用率。[0015]2.本实用新型采用了集成一体化的结构,合理利用罐体内部结构,集成多项功能,且罐体能够很方便地与呼吸机(未图示)装配,相比于现有技术很大程度上节约了空间,具体使用时,氧气由罐体进入第二接管,挤压密封块向上移动,并使得弹性伸缩杆收缩,密封块与环套之间出现缝隙,保证氧气正常流通,而使用结束后,弹性伸缩杆的复位弹力带动密封块向下移动,将环套密封,防止外部空气进入罐体内部。
摘要: 本实用新型公开了一种带有储水罐的呼吸机管路系统,涉及到呼吸机技术领域,包括罐体,所述罐体的内部固定连接有隔板,所述隔板与罐体的底部之间形成储水仓,所述隔板呈V型结构,所述隔板的内部开设有若干个圆孔,所述罐体顶部的下表面固定连接有条管,所述条管的下表面连通有雾化喷头,所述雾化喷头设置为多个,多个雾化喷头呈等距离分布,所述条管与储水仓之间设置有输送组件。该带有储水罐的呼吸机管路系统,泵体通过第二输液管对储水仓内的水进行抽吸,并由第一输液管输送至条管内部,然后由雾化喷头喷出,使得氧气在流通过程中充分与水接触,提高患者吸氧的舒适感。

























