授权专利
一种吸氧装置
公开(公告)号: CN221600918U
摘要附图:

标题: 一种吸氧装置
专利类型: 实用新型
申请日: 2023-08-29
公开(公告)日: 2024-08-27
申请号: CN202322334346.2
发明人: 赵丹
当前申请(专利权)人: 首都医科大学附属北京潞河医院
IPC分类号: A61M16/00 | A61M16/06 | A61C17/06
法律状态/事件: 授权
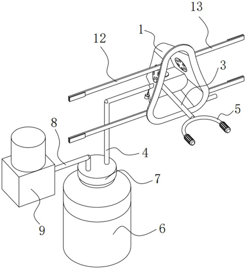
技术功效语段: [0015](1)本实用新型在帕金森患者正常使用面罩吸氧的情况下,能够对其口中产生的口水具有吸取并收集的效果;[0016](2)本实用新型三叉吸管和吸水头均为柔软的塑料材质,在口腔中可以发生弹性变形,适应口腔环境;[0017](3)本实用新型中中间段与面部接触的部分有凹槽的支撑,使吸孔尽可能少的与面部接触,从而降低面部的不适感;[0018](4)本实用新型中标线的配合透明瓶体的设置,让人员能够直观的看出收集瓶中收集口水的量,以便及时的倒出收集的口水;[0019](5)本实用新型中所述堵头能够堵住连接管,在患者不需要使用吸口水组件时,堵头插入到连接管的一端,避免一些杂质进入到连接管中;[0020](6)本实用新型中通过长带和短带配合,可使两者的连接处位于患者头部的侧边,便于患者处于躺姿的情况下佩戴和拆除面罩。
摘要: 本实用新型公开了一种吸氧装置,具体涉及医疗器材技术领域。吸氧装置,包括:面罩,所述面罩上安装有氧气管,氧气管能够与供氧装置连接,供氧装置通过氧气管向面罩内部供氧,所述吸氧装置还包括吸口水组件,所述吸口水组件包括连接管,所述连接管贯穿所述面罩,所述连接管的一端位于面罩内部,另一端位于面罩外,所述连接管位于面罩内部的一端套设有第一吸管,所述连接管的另一端套设有第二吸管,所述第一吸管远离所述连接管的一端安装有吸管机构,所述吸管机构包括三叉吸管。本实用新型提供的吸氧装置能够在帕金森患者正常使用面罩吸氧的情况下,能够对其口中产生的口水具有吸取并收集的效果。

























