授权专利
结石拦截器
公开(公告)号: CN221555908U
摘要附图:

标题: 结石拦截器
专利类型: 实用新型
申请日: 2023-12-20
公开(公告)日: 2024-08-20
申请号: CN202323483730.5
当前申请(专利权)人: 首都医科大学附属北京潞河医院
IPC分类号: A61B18/26
法律状态/事件: 授权
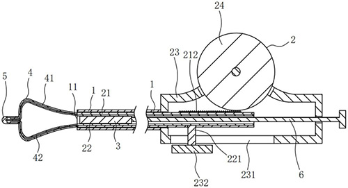
技术功效语段: [0014]本申请提供的技术方案可以包括以下有益效果:通过外圈套在内圈外,利用驱动机构驱动内圈绕鞘管的中心轴旋转,使内圈和外圈可以处于同一平面上,减小取石篮的占用空间,避免取石篮刮伤患者器官,也便于将取石篮套在结石外,而在将取石篮套在结石外后,又可以旋转内圈,使内圈的平面与外圈所在的平面相垂直,从而包围结石,方便取出击碎后的结石。[0015]应当理解的是,以上的一般描述和后文的细节描述仅是示例性和解释性的,并不能限制本申请。
摘要: 本申请涉及一种结石拦截器。该结石拦截器包括鞘管、驱动机构以及取石篮;所述鞘管的一端设有开口;所述驱动机构安装于所述鞘管;所述取石篮包括外圈和内圈,所述外圈套在所述内圈外,所述驱动机构分别与所述外圈和所述内圈相连;所述驱动机构驱动所述取石篮穿过所述开口伸出所述鞘管内或缩入所述鞘管内;所述驱动机构驱动所述内圈绕所述鞘管的中心轴旋转,以使所述内圈和所述外圈处于同一平面上,或使所述内圈所在的平面与所述外圈所在的平面相垂直。本申请提供的方案,能够便于套取结石、避免损伤患者器官。

























