授权专利
气管切开手术的俯卧位通气装置
公开(公告)号: CN221512561U
摘要附图:

标题: 气管切开手术的俯卧位通气装置
专利类型: 实用新型
申请日: 2023-10-30
公开(公告)日: 2024-08-13
申请号: CN202322920536.2
发明人: 李晶晶 | 李晶 | 黄敬轩
当前申请(专利权)人: 首都医科大学附属北京潞河医院
IPC分类号: A61G7/07
法律状态/事件: 授权
技术功效语段: [0015]本申请提供的技术方案可以包括以下有益效果:通过设置导轨,使肩部气垫和腹部气垫可以沿导轨滑动,从而方便医护人员调整肩部气垫与枕头的间距,也方便医护人员调整腹部气垫与枕头的间距,使得医护人员可以根据患者的身高对肩部气垫和腹部气垫的位置进行调整,从而更适应不同的患者需求。[0016]应当理解的是,以上的一般描述和后文的细节描述仅是示例性和解释性的,并不能限制本申请。
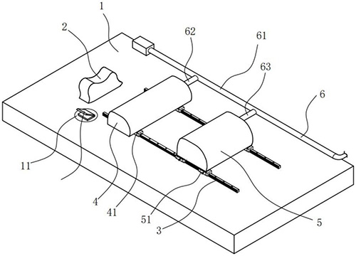
摘要: 本申请涉及一种气管切开手术的俯卧位通气装置。该气管切开手术的俯卧位通气装置包括床板、枕头、一对导轨、肩部气垫、腹部气垫以及充气机构;枕头安装于床板的上表面;导轨安装于床板的上表面,导轨位于枕头的一侧,导轨沿远离枕头的方向延伸;肩部气垫安装于导轨,肩部气垫沿导轨滑动;腹部气垫安装于导轨,腹部气垫位于肩部气垫远离枕头的一侧,腹部气垫沿导轨滑动;充气机构包括气泵、主气管、第一支管和第二支管,气泵与主气管相连通,第一支管的两端分别与主气管和肩部气垫相连通,第二支管的两端分别与主气管和腹部气垫相连通,气泵用于对肩部气垫或腹部气垫充气。本申请提供的方案,能够根据患者身高调整肩部气垫和腹部气垫的位置。

























