授权专利
一种可穿戴式导管固定带
公开(公告)号: CN221384811U
摘要附图:

标题: 一种可穿戴式导管固定带
专利类型: 实用新型
申请日: 2023-08-03
公开(公告)日: 2024-07-23
申请号: CN202322079937.X
发明人: 张晓
当前申请(专利权)人: 首都医科大学附属北京潞河医院
IPC分类号: A61M25/02
法律状态/事件: 授权
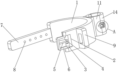
技术功效语段: [0015]1、该种可穿戴式导管固定带,将第一皮带贴合在患者的皮肤上,接着将第二皮带穿入到第一U型块的内部,通过转动第一转动杆内部的第二转动杆,使得固定杆可以转动,将固定杆转动到合适角度后插入到圆孔的内部,接着转动第一转动杆,使得第一U型块可以转动,将第一U型块转动到压合在第二皮带的表面,对第二皮带进行限制,最后将第二皮带插入到空心块的内部,也就完成该装置的固定,整个操作过程中有效的解决了由于该装置是利用胶布贴合在患者的皮肤上的,当患者活动或出汗时,会导致固定带从皮肤上脱落下来的问题,该种结构的设计,使得第一皮带和第二皮带可以缠绕在患者的皮肤上并固定住,提高了皮肤与装置之间的固定性。[0016]2、该种可穿戴式导管固定带,将导管放入第一半圆弧块的凹曲面,再转动转动柱,使得第二连接块转动,也就将第二半圆弧块和第一半圆弧块贴合在一起,此时通过拉动固定柱侧面的弹性带,使得弹性带被拉伸,将弹性带侧面的卡块拉进第二U型块的内部,接着松开对弹性带的拉力,也就使得卡块卡在第二U型块的内部,最后将移动块插入到第二U型块的内部即可,整个操作过程中有效的解决了由于该装置是通过胶布对导管进行限位固定的,在长时间的使用下,胶布与导管之间会出现松动甚至分开的问题,该种结构的设计,使得导管被第一半圆弧块和第二半圆弧块夹持限位住,避免了胶布固定局限性,固定效果好。
摘要: 本实用新型涉及医疗辅助用品技术领域,且公开了一种可穿戴式导管固定带,包括:第一皮带,所述第一皮带的表面开设有凹槽,所述凹槽的内部转动连接有第一转动杆,所述第一转动杆的内部开设有槽,且槽的内部转动连接有第二转动杆,所述第二转动杆的表面固定连接有固定杆,所述第一转动杆的表面固定安装有第一U型块,所述第一皮带的侧面固定连接有第二皮带。该种可穿戴式导管固定带,有效的解决了由于该装置是利用胶布贴合在患者的皮肤上的,当患者活动或出汗时,会导致胶布脱落,进而使得固定带从皮肤上脱落下来的问题,使得第一皮带和第二皮带可以缠绕在患者的皮肤上并固定住,提高了皮肤与装置之间的固定性。

























