授权专利
胸腔引流管固定器
公开(公告)号: CN221286582U
摘要附图:

标题: 胸腔引流管固定器
专利类型: 实用新型
申请日: 2023-09-14
公开(公告)日: 2024-07-09
申请号: CN202322503226.0
发明人: 郭华征 | 刘悦 | 沈宝征 | 胡明
当前申请(专利权)人: 首都医科大学附属北京潞河医院
IPC分类号: A61M25/02
法律状态/事件: 授权
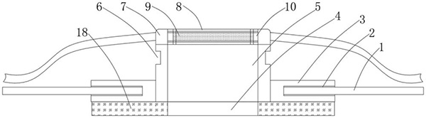
技术功效语段: [0015]本申请提供的技术方案可以包括以下有益效果:通过设置辅料层,使得第一粘贴膜对导管出口敷贴时,辅料层能够起到局部加压和吸收渗液的作用,能够有效避免渗液漏出导致第一粘贴膜容易脱落的问题,降低感染的可能性。同时,通过延长软板和固定筒能够对导管更稳定地限位。[0016]本申请的技术方案,还可以:通过设置软性隔层,使得第二粘贴膜在对导管与引流袋的连接处固定时,能够通过软性隔层对导管和皮肤隔绝,能够减少在固定导管时导管压迫皮肤的不适感。[0017]应当理解的是,以上的一般描述和后文的细节描述仅是示例性和解释性的,并不能限制本申请。
摘要: 本申请涉及一种胸腔引流管固定器。该胸腔引流管固定器包括:第一粘贴膜,所述第一粘贴膜用于设置在固定导管的出口部,所述第一粘贴膜上固定设置有延长软板,所述延长软板的外周开设有卡槽,所述第一粘贴膜与所述卡槽连接;所述延长软板的中部设置有贯穿所述延长软板的固定筒,所述固定筒的底部及所述延长软板的底部均设置有辅料层,所述辅料层开设有连接孔,所述连接孔与所述固定筒的下端开口相对设置,以供固定导管依次穿过所述连接孔和所述固定筒。本申请提供的方案,能够避免渗液漏出导致粘贴膜容易脱落的问题,并降低感染的风险。

























