授权专利
一种双截骨模板
公开(公告)号: CN221242972U
摘要附图:

标题: 一种双截骨模板
专利类型: 实用新型
申请日: 2024-01-26
公开(公告)日: 2024-07-02
申请号: CN202420201732.6
当前申请(专利权)人: 首都医科大学附属北京潞河医院
IPC分类号: A61B17/16
法律状态/事件: 授权
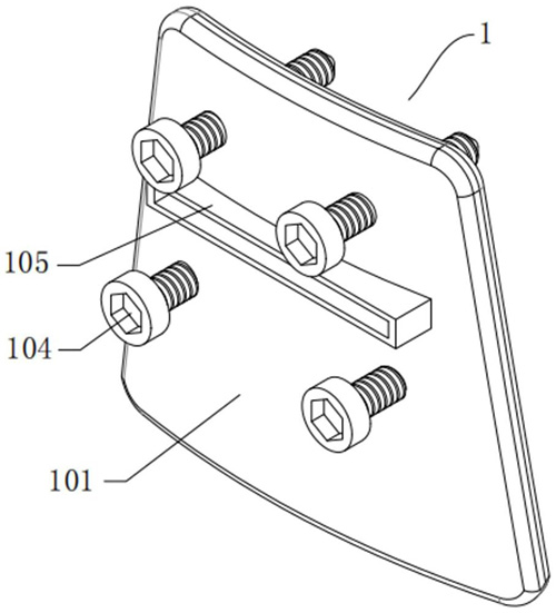
技术功效语段: [0018]本实用新型提供的双截骨模板主要由用于引导截骨的截骨引导模板以及用于对截骨后的股骨远端进行固定的固定模板组成,设置的截骨引导模板主要由通过3D打印技术制作出的弧形引导基板组成,并在弧形引导基板上开设有若干螺丝安装孔以及截骨引导切割通槽,同时在若干螺丝安装孔中均安装有螺丝,可将弧形引导基板利用螺丝安装固定在患者股骨远端,再利用切割工具沿着截骨引导切割通槽进行截骨,可以降低手术经验要求以及手术难度,同时可以提高截骨位置的要求;设置的固定模板主要由通过3D打印技术制作出的弧形固定基板一以及弧形固定基板二的组成,并在弧形固定基板二与弧形固定基板一的连接处一侧具有旋转形成的台阶,该台阶具体为弧形固定基板二的一侧边相对弧形固定基板一的一侧朝向内弧面旋转20°形成,在对截骨后的股骨远端进行固定时,直接通过螺钉插入中空定位柱一以及中空定位柱二内然后将螺钉的螺杆固定在股骨内,在螺钉的预紧作用下可以驱动截骨后的股骨远端在台阶的作用下旋转20°,从而提高旋转精度,有利于后期康复,将股骨远端截骨技术的截骨步骤和旋转步骤简化,缩短因为手术技术及病例数量限制造成的较长学习曲线,更加精准地将股骨旋转截骨应用于股骨前倾角增大的高度“J”形征髌骨脱位治疗中。
摘要: 本实用新型提供了一种双截骨模板,包括:用于引导截骨的截骨引导模板以及用于对截骨后的股骨远端进行固定的固定模板,设置的截骨引导模板主要由通过3D打印技术制作出的弧形引导基板组成,并在弧形引导基板上开设有若干螺丝安装孔以及截骨引导切割通槽,同时在若干螺丝安装孔中均安装有螺丝;设置的固定模板主要由通过3D打印技术制作出的弧形固定基板一以及弧形固定基板二组成。本实用新型提供的双截骨模板,将股骨远端截骨技术的截骨步骤和旋转步骤简化,缩短因为手术技术及病例数量限制造成的较长学习曲线,更加精准地将股骨旋转截骨应用于股骨前倾角增大的高度“J”形征髌骨脱位治疗中。

























