授权专利
一种使用方便的换药车
公开(公告)号: CN221180911U
摘要附图:

标题: 一种使用方便的换药车
专利类型: 实用新型
申请日: 2023-08-28
公开(公告)日: 2024-06-21
申请号: CN202322312002.1
发明人: 周佳华
当前申请(专利权)人: 首都医科大学附属北京潞河医院
IPC分类号: A61G12/00
法律状态/事件: 授权
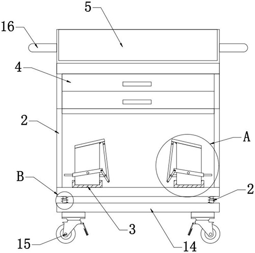
技术功效语段: [0013]本实用新型的一种使用方便的换药车,药物放置在放置屉内,通过设置的减震阻尼器,减小换药车在行走过程中产生的颠簸,防止药品洒落,通过设置的垃圾桶,用脚踩脚踏板即可将垃圾桶打开,防止用手打开垃圾桶,垃圾桶上的细菌沾染到手上,本装置结构简单,使用卫生方便。
摘要: 本实用新型公开了一种使用方便的换药车,包括行走机构,所述行走机构上方设有框架,所述行走机构与框架之间设有若干个均匀分布的减震阻尼器,所述框架上设有两个对称设置的安装座,所述安装座上设有垃圾桶,所述垃圾桶上方设有若干个放置屉,所述放置屉顶部设有操作台。本实用新型的一种使用方便的换药车,药物放置在放置屉内,通过设置的减震阻尼器,减小换药车在行走过程中产生的颠簸,防止药品洒落,通过设置的垃圾桶,用脚踩脚踏板即可将垃圾桶打开,防止用手打开垃圾桶,垃圾桶上的细菌沾染到手上,本装置结构简单,使用卫生方便。

























