授权专利
胃管固定贴
公开(公告)号: CN221181323U
摘要附图:

标题: 胃管固定贴
专利类型: 实用新型
申请日: 2023-08-17
公开(公告)日: 2024-06-21
申请号: CN202322221082.X
发明人: 张超凡
当前申请(专利权)人: 首都医科大学附属北京潞河医院
IPC分类号: A61M25/02
法律状态/事件: 授权
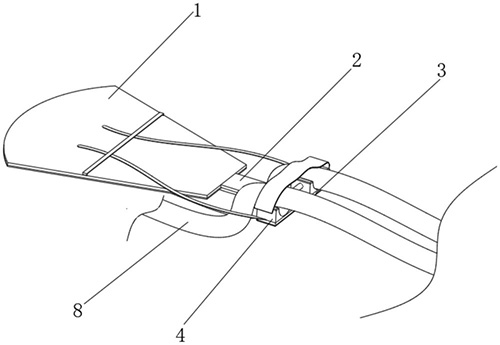
技术功效语段: [0016]本申请提供的技术方案可以包括以下有益效果:通过设置连接条带动上唇部胶粘条挤压在病人的上嘴唇并且靠近鼻孔位置处,胃管位于第一间隔限位块内部,另外一个气管放置在第二间隔限位块内部,胃氧管胶粘层下表面粘接在第一间隔限位块的左侧位置处,胃管和气管之间能够同步粘接固定,而且胃管和气管之间存在间隙,不仅固定贴起来更加方便,而且避免两个管道相对挤压过紧造成鼻腔损伤。[0017]本申请提供的技术方案还可以:通过向上拉动两个侧向粘接条,两个侧向粘接条带动第一间隔限位块和第二间隔限位块向上移动,拉紧第一间隔限位块和第二间隔限位块后使侧向粘接条通过粘胶层粘贴固定在贴鼻层的上表面,对第一间隔限位块和第二间隔限位块两侧起到拉紧固定作用,增加第一间隔限位块和第二间隔限位块连接时的稳定性。[0018]应当理解的是,以上的一般描述和后文的细节描述仅是示例性和解释性的,并不能限制本申请。
摘要: 本申请涉及一种胃管固定贴。该胃管固定贴包括:贴鼻层,所述贴鼻层上安装有连接条,所述连接条的一端连接有上唇部胶粘条,所述上唇部胶粘条的上表面从一侧到另一侧依次排列有第一间隔限位块、连接支柱和第二间隔限位块,所述第二间隔限位块的顶端固定连接有胃氧管胶粘层。本申请提供的方案,能够避免两个管道相对挤压过紧造成鼻腔损伤,方便固定。

























